深度丨苹果的未来键盘计划

2018 年 3 月 27 日 威锋网 辣鸡小编

尽管语音技术和语音交互模式已经开始了长足的发展,但键盘依旧如此重要。

近段时间,关于键盘的新话题因为苹果发布的几个专利而在此被人们提起,从 MacBook Pro 键盘有争议的创新,到取消 iPhone Home 键物理交互的激进,苹果一直想要寻找推动键盘改革的方法,那么苹果目前的技术方向,对于键盘在未来的创新领域可以给出什么建议呢?

更可靠的输入工具

键盘对于使用电脑来工作、创作的人来说是不可或缺的生产工具,它自然也影响生产效率,不管现在触屏如何占据着你越来越多的日常时间,键盘始终是你最重要的人机交互工具。

对于传统的物理键盘,如何提高可靠性是一个关键因素。苹果的蝶式键盘设计曾让不少人感到惊艳,蝶式键盘伴随 2015 年发布的 12 英寸 New MacBook 亮相,为了追求笔记本电脑轻薄的极致,苹果选择利用蝶式来代替传统的剪刀式键盘设计,这种结构也延续到了之后的 MacBook Pro 系列产品上。

所有的创新和尝试都值得肯定,蝶式键盘能把笔记本做得更薄这点非常棒,但要知道薄也是有代价的。

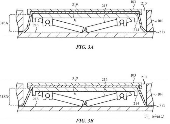
这一设计在让笔记本更薄的同时,也带来了别的问题,由于蝶式键盘的构造,很容易出现被掉落的碎屑或者灰尘导致按键无响应或者卡住等问题,恰巧的是,苹果最近一份新的专利,正式想要给蝶式结构的按键增加一圈防尘膜来杜绝杂物的影响,甚至于不用担心不小心洒出的液体。


根据专利的描述,该键盘可以通过每个键位下面的一个薄膜圈来实现密封缝隙,因此每当按键被按下时,就会吹出空气,以此来清理(吹走)灰尘或键盘上的碎屑。所以它又号称“面包屑杀手”,如果这项专利能够应用于实践,那我们就可以更放心的在电脑面前喝咖啡、吃零食、啃面包了……

尽管苹果的大多数专利都不会变成真正的产品,但这至少能够说明苹果正在积极考虑创造真正的防尘、防水、防碎屑键盘,毕竟打造更好,更可靠的键盘,才会让 MacBook 一直保持着作为工具的吸引力。
那么改成触摸键盘可能吗?

这些年,移动端在性能上无限接近桌面端,桌面端在体验上无限接近移动端,这是一种趋势,移动端正在逐步攻克桌面端的阵地,这也是事实。但桌面端通过改革以后依旧可能收复失地,MacBook 的新键盘设计就是在尝试着反击,轻薄的笔电一样可以去接近移动端,之后找准时机发动反击。

2017 年 12 月,苹果宣布将从 2018 年开始逐步实施整合 iOS 和 macOS 应用的计划,这是移动和桌面端应用体验相互靠拢的尝试,但是其实苹果 iOS 和 Mac 统一的思路在此之前早已在硬件上面显露——2016 年的新款 MacBook 上,可触控的 Touch Bar 取代了功能按键。

Touch Bar 从构思到最终实现花了将近八年的时间——果然很符合苹果一步步慢慢来的风格。

随着这样的整合,未来的产品或许不会再分桌面和移动,性能和便携度上的边界也完全可以模糊不计。更重要的一步是以后估计连蝶式的键程设计都没有,估计会是 类似 Force Touch 震动之类的技术来模拟按压感。这样以后包括 MacBook、iPhone、iPad 启用弹出时都会具备这种模拟的按压感,一次习惯之后,全平台统一了手感。

Touch Bar 可能是触摸键盘的雏形,是苹果的一种试探,它存在很大争议性。Touch Bar 具有 iPhone 屏幕或任何其他触摸屏的所有优点,因为它可以编程为在不同的环境下显示不同的信息,因此就实现了不同的功能。而它的不足之处在于你必须向下看,才能确定想要触摸的位置,而不是像物理按键那样通过手指的感觉来定位。

但这不会是究极的问题,如果你回头看看别的产品领域,很多东西也是在沿着从键盘—触摸键盘—全触摸屏的方向前进,而且是在慢慢变好。

Touch Bar 没准还真有“后续”。苹果方面表示,公司已经听到了相关人士的反馈,并打算将 2019 年到来的 MacBook Pro 2 上的 Touch Bars 更换成为整个键盘。

苹果的新专利就完美诠释了以上想法——整个“Touch Bar”变成键盘。根据由 Patently Apple 首次报道,这项专利正式称呼为“增强可视性和抑制反射双显示设备”,专利中还描述了用以减少两个屏幕之间反射的偏振片,并阐述了即将到来的新设备的2种版本的雏形。其中一个听起来更像是一个 MacBook:由铰链连接的两个屏幕是一个单一设备的一部分,而另一个描述第二个键盘屏幕作为附件的设备(如 iPad 键盘附件)。



苹果给出了三种技术来解决触摸式键盘的手感问题:①当在键盘用手打字时,触摸板会相应形成凹陷,通过电容监测层可以感知这种按压的深度和位置,从而对手指进行反馈。②通过振动马达来提供用户手指按压相应的压力反馈,振动马达的感觉类似于日常使用 iPhone 的 3D Touch 带来的反馈。③通过静电来表现手指触控的感觉,当手指放在键盘上面时,静电摩擦能对手指对键盘的按压有明确感知。

无论是关于蝶式键盘的防碎屑专利还是触摸键盘专利,更多是表达未来桌面端键盘还有很大改革空间的想法,在技术更为成熟的某一日,这些想法便成为现实,各位期待着什么样的键盘呢?

往期 精彩回顾

郭明錤:新9.7英寸iPad将支持Apple Pencil

三星对中国芯崛起不屑一顾 承认在华手机销量差

关于中美贸易战 库克是这么说的

外媒吐槽:苹果 请别在广告里跳舞了!

登录查看更多
0

相关内容

2015 年春季发布会之前一般是 MacBook Air 和 MacBook Pro 的统称。但现在亦可特指苹果公司于 2015 年发布的新笔记本电脑,定位是满足最基本需求外提供便携度。
【天津大学】风格线条画生成技术综述
专知会员服务
35+阅读 · 2020年4月26日
德勤:2020技术趋势报告,120页pdf
专知会员服务
192+阅读 · 2020年3月31日
专知会员服务
239+阅读 · 2020年1月23日
阿里巴巴达摩院发布「2020十大科技趋势」
专知会员服务
108+阅读 · 2020年1月2日
未来20年(2019—2039)的50个技术预测
全球创新论坛
5+阅读 · 2018年12月16日
中国移动互联网2018上半年报告
计算机与网络安全
3+阅读 · 2018年7月22日
猝不及防!刚刚,马云重大宣布,沸腾了全中国!
今日互联网头条
3+阅读 · 2017年11月23日
深度解读 | 为何众科技巨头都在抢滩语音识别技术?
Arxiv
13+阅读 · 2018年1月20日
VIP会员
相关VIP内容
【天津大学】风格线条画生成技术综述
专知会员服务
35+阅读 · 2020年4月26日
德勤:2020技术趋势报告,120页pdf
专知会员服务
192+阅读 · 2020年3月31日
专知会员服务
239+阅读 · 2020年1月23日
阿里巴巴达摩院发布「2020十大科技趋势」
专知会员服务
108+阅读 · 2020年1月2日
相关资讯
未来20年(2019—2039)的50个技术预测
全球创新论坛
5+阅读 · 2018年12月16日
中国移动互联网2018上半年报告
计算机与网络安全
3+阅读 · 2018年7月22日
猝不及防!刚刚,马云重大宣布,沸腾了全中国!
今日互联网头条
3+阅读 · 2017年11月23日
深度解读 | 为何众科技巨头都在抢滩语音识别技术?
Top
微信扫码咨询专知VIP会员