成为VIP会员查看完整内容
VIP会员码认证
首页
主题
发现
会员
服务
注册
·
登录
0
苹果新专利曝光:让Apple Car自动寻找停车位置
2022 年 5 月 6 日
威锋网
点击上方蓝色字体,关注我们
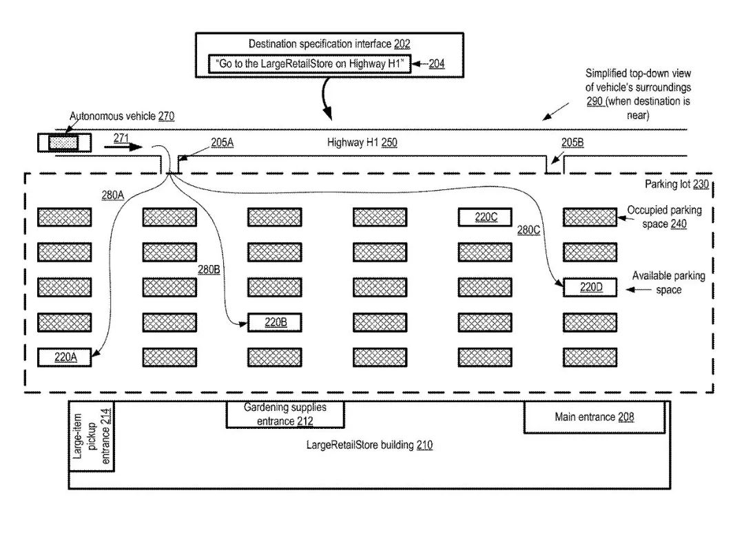
据报道,苹果正在研究Apple Car如何通过Siri技术的发展来理解语音命令,并可执行更多关于停车位置的细节。
“使用意图信号在目的地附近引导自动驾驶车辆”是一项新披露的专利申请,涉及在“Apple Car”中使用自动驾驶。它涉及的是用户界面,以及当可能没有方向盘或刹车时,司机或乘客如何控制汽车的路线。
该专利称:“鉴于现实环境中车辆轨迹通常有多种选择,乘客关于选择车辆轨迹的输入或指导(不需要传统的转向、制动、加速等)对这类车辆的运动控制部件可能非常有价值。”
然而,为这种指导提供直观和易于使用的界面,特别是在停车场等可能没有详细或者准确地图数据的环境中,可能是一个非同小可的挑战。
苹果在这项专利申请中反复提到"授权人"(不一定是司机)和"意向信号"。意向信号不是用来告诉其他司机转弯意图的转弯指示灯,它是向汽车传达用户意愿的任何方法。例如,如果用户在一家大型零售店附近说他想为花园买一些植物,导航可能会确定,车辆最好停在标有“园艺”或“园艺用品”的入口附近。
在这种情况下,汽车不仅仅是确定了最佳的停车位置,它首先解释了用户的陈述,并决定将车开到附近的"大型零售店"。另外,专利申请显示,这项专利相关的用户界面可以有一个下拉菜单,用户可以首先表示:“让我们去大型零售店"。然后可以有后续级别的菜单,让用户从在主入口附近停车,在园艺入口附近停车等选项中进行选择。或者,汽车可以简单地与用户直接交谈。
(商务合作请联系:lin.chen@office.feng.com)
你有
「在看」
吗 ?
登录查看更多
点赞并收藏
0
暂时没有读者
0
权益说明
本文档仅做收录索引使用,若发现您的权益受到侵害,请立即联系客服(微信: zhuanzhi02,邮箱:bd@zhuanzhi.ai),我们会尽快为您处理
相关内容
专利
关注
3
专利(Patent)是专知网收录整理的一个重要资料文档板块,旨在通过人机协作的方式整理、挖掘国内外发明专利信息,提供便于科技工作者查阅的高质量知识信息。
CVPR2022最佳论文奖项出炉!苏黎世联邦理工等获最佳论文,同济大学等获最佳学生论文
专知会员服务
55+阅读 · 2022年6月21日
机器人顶会CoRL 2021奖项公布,MIT获最佳论文奖,哥伦比亚等摘得最佳系统论文奖
专知会员服务
9+阅读 · 2021年11月12日
CVPR 2021 Oral | 室内动态场景中的相机重定位
专知会员服务
16+阅读 · 2021年4月12日
「深度图像检索: 2012到2020」大综述论文,21页pdf
专知会员服务
43+阅读 · 2021年1月30日
【CORL2020最佳系统论文奖】可扩展多智能体强化学习学校
专知会员服务
18+阅读 · 2020年11月30日
不可错过!CMU《深度学习导论》2020课程,附课件与视频
专知会员服务
80+阅读 · 2020年10月27日
Google 发布图片配对基准及挑战:从系列图像重建三维物体和建筑物
专知会员服务
40+阅读 · 2020年4月4日
【斯坦福大学-论文】实体上下文关系路径的知识图谱补全
专知会员服务
105+阅读 · 2020年2月20日
【斯坦福大学】场景图谱表示在计算机视觉中的应用,41页ppt
专知会员服务
52+阅读 · 2020年1月8日
【NeurIPS 2019 Apple成果汇总】《Apple at NeurIPS 2019》
专知会员服务
11+阅读 · 2019年12月6日
iPad mini 6在更新到iPadOS 15.5后可能停止充电
威锋网
0+阅读 · 2022年7月8日
iOS 15.6和iPadOS 15.6的第三个公开测试版发布
威锋网
0+阅读 · 2022年6月16日
苹果向开发者推送iOS 15.6和iPadOS 15.6 Beta 3
威锋网
0+阅读 · 2022年6月15日
在WWDC开幕之前 疑似苹果AR/VR头戴系统商标申请曝光
威锋网
0+阅读 · 2022年5月30日
新专利显示 苹果计划用光学传感器取代手表的数码表冠
威锋网
0+阅读 · 2021年12月30日
为什么要选择苹果地图?苹果高管给出了这三个原因
威锋网
0+阅读 · 2021年12月25日
苹果发布“Tracker Detect”应用 防止安卓用户被AirTag定位
威锋网
0+阅读 · 2021年12月15日
苹果发布iOS 15. 2 RC版本 Apple Music声控方案也将提供
威锋网
0+阅读 · 2021年12月8日
在搞了?又有两项苹果无人机相关专利申请曝光
威锋网
0+阅读 · 2021年11月12日
iPhone 13系列保护壳曝光 除了硅胶和皮革 还有新的壳?
威锋网
0+阅读 · 2021年9月14日
印度芥菜BjHMA4转运蛋白C-末端结构域的位置和功能研究
国家自然科学基金
0+阅读 · 2015年12月31日
酿酒酵母工程化外源途径的转录精细调控基础
国家自然科学基金
0+阅读 · 2014年12月31日
不同人为热环境下城市景观格局气温调节功能的动态研究
国家自然科学基金
0+阅读 · 2014年12月31日
研究纳米超导量子干涉器件中的磁通噪声起源
国家自然科学基金
0+阅读 · 2013年12月31日
大数据挖掘在科技项目查重中的应用研究
国家自然科学基金
0+阅读 · 2012年12月31日
苹果MdTMT1和MdTMT2在果实糖代谢与积累中的作用及其调控分析
国家自然科学基金
0+阅读 · 2012年12月31日
基于图像序列的动态场景三维结构和运动恢复的鲁棒性算法
国家自然科学基金
0+阅读 · 2012年12月31日
隐花色素磷酸化机制以及起始蓝光信号传导功能研究
国家自然科学基金
0+阅读 · 2012年12月31日
图像匹配的新方法研究:李群约束的优化算法
国家自然科学基金
0+阅读 · 2009年12月31日
基于双波段近红外图像融合的自动乘客检测方法的研究
国家自然科学基金
0+阅读 · 2009年12月31日
Shift-tolerant Perceptual Similarity Metric
Arxiv
0+阅读 · 2022年7月27日
Learning Appearance-motion Normality for Video Anomaly Detection
Arxiv
0+阅读 · 2022年7月27日
Kilometer-scale autonomous navigation in subarctic forests: challenges and lessons learned
Arxiv
0+阅读 · 2022年7月26日
Classifier-Free Diffusion Guidance
Arxiv
0+阅读 · 2022年7月26日
Halftoning with Multi-Agent Deep Reinforcement Learning
Arxiv
0+阅读 · 2022年7月23日
Disentangling Object Motion and Occlusion for Unsupervised Multi-frame Monocular Depth
Arxiv
0+阅读 · 2022年7月23日
Flat Latent Manifolds for Human-machine Co-creation of Music
Arxiv
0+阅读 · 2022年7月22日
BigIssue: A Realistic Bug Localization Benchmark
Arxiv
0+阅读 · 2022年7月21日
已删除
Arxiv
32+阅读 · 2020年3月23日
Neural Architecture Search: A Survey
Arxiv
12+阅读 · 2018年9月5日
VIP会员
自助开通(推荐)
客服开通
详情
相关主题
专利
图信号
苹果公司 (Apple Inc.)
部件
Siri
自动驾驶
相关VIP内容
CVPR2022最佳论文奖项出炉!苏黎世联邦理工等获最佳论文,同济大学等获最佳学生论文
专知会员服务
55+阅读 · 2022年6月21日
机器人顶会CoRL 2021奖项公布,MIT获最佳论文奖,哥伦比亚等摘得最佳系统论文奖
专知会员服务
9+阅读 · 2021年11月12日
CVPR 2021 Oral | 室内动态场景中的相机重定位
专知会员服务
16+阅读 · 2021年4月12日
「深度图像检索: 2012到2020」大综述论文,21页pdf
专知会员服务
43+阅读 · 2021年1月30日
【CORL2020最佳系统论文奖】可扩展多智能体强化学习学校
专知会员服务
18+阅读 · 2020年11月30日
不可错过!CMU《深度学习导论》2020课程,附课件与视频
专知会员服务
80+阅读 · 2020年10月27日
Google 发布图片配对基准及挑战:从系列图像重建三维物体和建筑物
专知会员服务
40+阅读 · 2020年4月4日
【斯坦福大学-论文】实体上下文关系路径的知识图谱补全
专知会员服务
105+阅读 · 2020年2月20日
【斯坦福大学】场景图谱表示在计算机视觉中的应用,41页ppt
专知会员服务
52+阅读 · 2020年1月8日
【NeurIPS 2019 Apple成果汇总】《Apple at NeurIPS 2019》
专知会员服务
11+阅读 · 2019年12月6日
热门VIP内容
开通专知VIP会员 享更多权益服务
《运用大语言模型支持空天防御系统工程项目》2025最新208页
《美空军转型:打造分布式空战力量以应对大国竞争》2025最新报告
消耗性无人机:认识战争演变中的技术特性与本质特征
《人体状态多模态推断·美陆军报告:风险环境下的认知追踪研究》2025最新100页
相关资讯
iPad mini 6在更新到iPadOS 15.5后可能停止充电
威锋网
0+阅读 · 2022年7月8日
iOS 15.6和iPadOS 15.6的第三个公开测试版发布
威锋网
0+阅读 · 2022年6月16日
苹果向开发者推送iOS 15.6和iPadOS 15.6 Beta 3
威锋网
0+阅读 · 2022年6月15日
在WWDC开幕之前 疑似苹果AR/VR头戴系统商标申请曝光
威锋网
0+阅读 · 2022年5月30日
新专利显示 苹果计划用光学传感器取代手表的数码表冠
威锋网
0+阅读 · 2021年12月30日
为什么要选择苹果地图?苹果高管给出了这三个原因
威锋网
0+阅读 · 2021年12月25日
苹果发布“Tracker Detect”应用 防止安卓用户被AirTag定位
威锋网
0+阅读 · 2021年12月15日
苹果发布iOS 15. 2 RC版本 Apple Music声控方案也将提供
威锋网
0+阅读 · 2021年12月8日
在搞了?又有两项苹果无人机相关专利申请曝光
威锋网
0+阅读 · 2021年11月12日
iPhone 13系列保护壳曝光 除了硅胶和皮革 还有新的壳?
威锋网
0+阅读 · 2021年9月14日
相关基金
印度芥菜BjHMA4转运蛋白C-末端结构域的位置和功能研究
国家自然科学基金
0+阅读 · 2015年12月31日
酿酒酵母工程化外源途径的转录精细调控基础
国家自然科学基金
0+阅读 · 2014年12月31日
不同人为热环境下城市景观格局气温调节功能的动态研究
国家自然科学基金
0+阅读 · 2014年12月31日
研究纳米超导量子干涉器件中的磁通噪声起源
国家自然科学基金
0+阅读 · 2013年12月31日
大数据挖掘在科技项目查重中的应用研究
国家自然科学基金
0+阅读 · 2012年12月31日
苹果MdTMT1和MdTMT2在果实糖代谢与积累中的作用及其调控分析
国家自然科学基金
0+阅读 · 2012年12月31日
基于图像序列的动态场景三维结构和运动恢复的鲁棒性算法
国家自然科学基金
0+阅读 · 2012年12月31日
隐花色素磷酸化机制以及起始蓝光信号传导功能研究
国家自然科学基金
0+阅读 · 2012年12月31日
图像匹配的新方法研究:李群约束的优化算法
国家自然科学基金
0+阅读 · 2009年12月31日
基于双波段近红外图像融合的自动乘客检测方法的研究
国家自然科学基金
0+阅读 · 2009年12月31日
相关论文
Shift-tolerant Perceptual Similarity Metric
Arxiv
0+阅读 · 2022年7月27日
Learning Appearance-motion Normality for Video Anomaly Detection
Arxiv
0+阅读 · 2022年7月27日
Kilometer-scale autonomous navigation in subarctic forests: challenges and lessons learned
Arxiv
0+阅读 · 2022年7月26日
Classifier-Free Diffusion Guidance
Arxiv
0+阅读 · 2022年7月26日
Halftoning with Multi-Agent Deep Reinforcement Learning
Arxiv
0+阅读 · 2022年7月23日
Disentangling Object Motion and Occlusion for Unsupervised Multi-frame Monocular Depth
Arxiv
0+阅读 · 2022年7月23日
Flat Latent Manifolds for Human-machine Co-creation of Music
Arxiv
0+阅读 · 2022年7月22日
BigIssue: A Realistic Bug Localization Benchmark
Arxiv
0+阅读 · 2022年7月21日
已删除
Arxiv
32+阅读 · 2020年3月23日
Neural Architecture Search: A Survey
Arxiv
12+阅读 · 2018年9月5日
大家都在搜
PINN
蓝牙安全攻防
2025最新文献
人类控制
扩散模型
事件相机
突防
朱克爱德华兹家族
WOS
【论文笔记】用于数据驱动交通预测的扩散卷积循环神经网络(DCRNN)
Top
提示
微信扫码
咨询专知VIP会员与技术项目合作
(加微信请备注: "专知")
微信扫码咨询专知VIP会员
Top