三星无人机专利曝光

2018 年 3 月 3 日 无人机

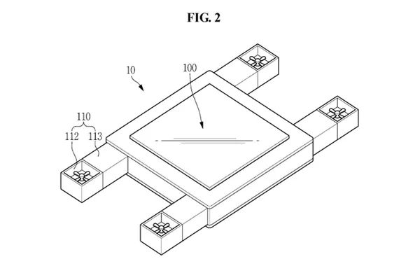
三星一个新的无人机专利浮出水面,我们可以看到这个新的设计看起来有点像一个飞盘。据专利描述文件显示, 这款无人机在底部还有两个可折叠的支架,另外旁边围着一圈扇叶。不同于大多数无人机,它更像是一个小型UFO。这份文件由荷兰网站GalaxyClub 曝出。

据悉, 这份无人机的专利申请是由三星电子有限公司提交。除了无人机的设计图,专利描述中还显示,这款无人机将采用金属和合成树脂等材质,另外圆顶状区域底部还将配备一部摄像机。
三星表示,无人机设计的灵感来源于“圆盘状飞船”。


据LetsGoDigital公布的信息,三星目前获得了一项最新专利——一款可以检测到人脸、眼球、手势以及姿势的无人机。

这款无人机包括照相机和将具有传输功能的观测系统。观测系统可以实时跟踪到用户眼球、头部、手部或手指的运动。用户可以通过动动头、眼睛、手指来控制无人机飞行速度和方向,听起来还是挺酷的。

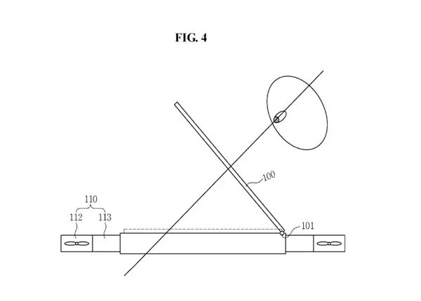
图3是该无人机的侧视图,详细的展示了可以改变飞行角度的“联合操纵器”。“联合操纵器”包括陀螺仪传感器,运动传感器,振动系统,加速器在不在其中还不得知。同时,这款无人机可能还具备语音识别功能和基于Wi-Fi的定位系统。

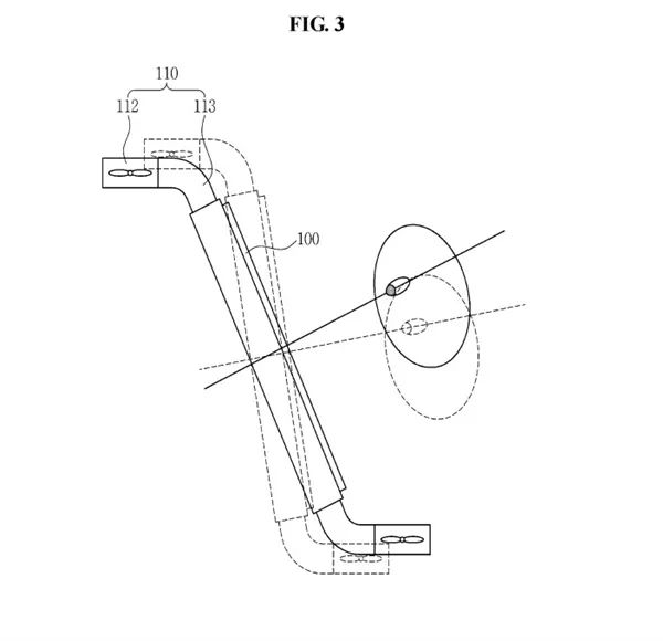
图4显示了关节操纵器(113)和控制飞行方向的螺旋桨。这款无人机还配备了一个障碍检测功能,可以自动避开其他物体。

以上图片中,实线部分是三星公开宣布无人机所配备的功能,虚线部分则是其余部分的外观。

三星并不是唯一一个投入无人机研发的公司,亚马孙也得到了一系列无人机专利。

而三星无人机投入到广告中使用的可能性更大,它可以通过检测用户的身体特征来判断喜好,然后再为其提供相应的商品广告。


长按识别图中二维码关注我们!


登录查看更多
0

相关内容

不需要驾驶员登机驾驶的各式遥控飞行器。
基于深度学习的行人重识别研究进展,自动化学报
专知会员服务
39+阅读 · 2019年12月5日
【重磅】100大产业链全景图
全球创新论坛
11+阅读 · 2018年12月3日
小冰,请接电话!
微软丹棱街5号
5+阅读 · 2018年4月18日
【无人机】无人机的自主与智能控制
产业智能官
53+阅读 · 2017年11月27日
Video-to-Video Synthesis
Arxiv
9+阅读 · 2018年8月20日
Arxiv
7+阅读 · 2018年4月11日
VIP会员
相关VIP内容
基于深度学习的行人重识别研究进展,自动化学报
专知会员服务
39+阅读 · 2019年12月5日
Top
微信扫码咨询专知VIP会员