央视点名批评哒哒英语、阿卡索;万达出售宝贝王早教业务;字节跳动上线瓜瓜龙语文 | 教育周报

2020 年 8 月 3 日 创业邦杂志

作者:彩虹

编辑:刘岩

图源:图虫



随着疫情防控形势变化,大连市教育局局长赵阳称,全市1322所幼儿园已全部暂停幼儿入园。北京将“一校一方案”推进复学复课,鼓励平台型企业开发智慧教育业务。另外,教育部曝光8起违反教师职业行为十项准则问题。


本周,新东方和好未来发布最新财报:新东方2020财年Q4营收7.99亿美元;好未来2021财年Q1净收入9.107亿美元。


行业动态方面,跟谁学正式宣布落户杭州,这是跟谁学今年继设立济南、武汉等运营中心后,新设立的又一运营中心;立德教育8月6日赴港上市;央视点名哒哒英语、阿卡索:数万元课程缩水,教师资质成谜。


新产品方面,钉钉上线“学生版”;字节跳动趣味启蒙产品再添新丁“瓜瓜龙语文”;魔力耳朵推出1对1课堂。


本周资本动态活跃,英孚教育引入璞米资本重大投资;字节跳动正在与印度在线教育平台Lido Learning就投资进行谈判;和码编程完成千万美元级A轮融资......



大公司大事件


字节跳动AI副总裁离职,将加入清华大学张亚勤团队


7月28日,字节跳动副总裁、人工智能实验室主任马维英离职,将赴清华大学智能产业研究院任职,加入正在筹备该产业院的原百度总裁张亚勤团队。对此,字节跳动方面介绍,“根据自己的兴趣,马维英选择到清华大学从事人才培养和科研相关工作,他同时还会继续担任字节跳动技术顾问。”


2017年,马维英从微软亚洲研究院离职后加入字节跳动,并负责管理人工智能实验室。字节跳动人工智能实验室成立于2016年,其主要研究重点是开发为字节跳动内容平台服务的创新技术 。


马维英离任,人工智能实验室负责人一位将空缺,未来将由谁接任,字节跳动目前暂未做出回应。



新东方考研名师李旭、唐静出走,加入跟谁学


近日跟谁学宣布联合新浪教育于7月27-7日29日上线“考研名师公开课”。该系列课程由李旭、唐静两位名师全程免费教学,为期三天,涉及写作、阅读、翻译多方面。


值得注意的是,新东方的另外一位考研名师董仲蠡也在7月28日发博称,在与某机构(疑似跟谁学)接触后,最终还是决定继续留在新东方。



跟谁学正式落户杭州,团队规模预计将超3000人


7月28日,在线教育机构跟谁学与杭州滨江区政府签署战略合作协议,宣布正式落户杭州。杭州运营中心是跟谁学今年继设立济南、武汉等运营中心后,新设立的又一运营中心。


据了解,杭州运营中心成立后,将实现教育本地化发展,努力践行互联网科技与教育领域相结合的教育形式,推动杭州小初高互联网教育进程。中心将设立K12、成人、家庭教育等双师教学团队,预计容纳团队规模将超过3000人,年服务学生将超过百万人次。


成立于2014年的跟谁学,是标准的后起之秀,上市一年,市值已突破千亿元。屡遭做空,依然坚挺。落户杭州,推动教育本地化发展,这一次,跟谁学的故事又将打开哪些新天地?



万达出售宝贝王早教业务,后者2018年底线下直营门店超100家


据澎湃新闻报道,万达宝贝王国际早教中心的总运营公司霍尔果斯万达教育科技有限公司将100%股权转让给了博思美邦(北京)教育咨询有限公司,法人代表由万达地产集团总裁张霖变更为薄涛,原总经理、监事、执行董事均退出。此次万达出售的业务主要为万达宝贝王早教业务。澎湃新闻提到,此次万达出售宝贝王的早教业务或因早教资产太重,成本过高,竞争激烈,不符合万达正在走的轻资产转型之路。宝贝王早教内部员工向多知表示:“内部一如既往。工作正常。”


万达宝贝王官网显示,其以儿童全程成长专家为定位,涵盖乐园、早教、IP三大板块,打造以IP为核心的儿童全产业链科技文创平台。其中,截至2018年底,万达宝贝王乐园在全国开业251家,全年接待2.8亿人次,拥有活跃会员超700万。万达宝贝王早教全部采用直营模式,截至2018年底,全国门店突破100家。



立德教育8月6日赴港上市,拟发行1.67亿股股份


7月27日,黑龙江民办学历制高等教育服务供应商立德教育更新招股书,拟发行1.67亿股股份,每股2.1-2.6港元,预期将于8月6日赴港上市。今年3月,立德教育向港交所递交招股书。招股书中介绍,立德教育旗下仅经营一所学校,为黑龙江工商学院,设有松北校区和哈南校区。据了解,黑龙江工商学院主要提供本科课程,开设26个专业,涵盖工程、商业、铁路、经济、文学及艺术等。


招股书显示,2017-2019连续三个财年,立德教育营收分别为1.07亿元、1.17亿元、1.38亿元,呈持续上升趋势。净利润方面,2017-2019年分别为4871.6万元、5715.4万元、7035.7万元。



王道科技在纳斯达克挂牌上市,首日收跌5%


近日,教育技术服务提供商王道科技(EDTK.US)正式在纳斯达克挂牌交易,首日开盘报5.35美元,IPO发行价为5美元,盘中最高价6.75美元,截至收盘,该股收跌5%,报4.75美元。


据了解,该公司成立于2013年6月,目前市值超过5000万美元。其可以提供在线职业培训和虚拟实验培训;同时为私营企业、学术机构和政府机构提供技术服务,包括软件开发以及综合云服务。



央视点名哒哒英语、阿卡索:数万元课程缩水,教师资质成谜


近日,据央视CCTV2报道,哒哒英语和阿卡索两大英语教学平台因多项问题被点名批评。其中,哒哒英语被指擅自改课,价值十余万课程“缩水”,家长维权困难重重;阿卡索外教网被指外教质量差,迟到、玩手机等现象屡见不鲜,且资质认证存疑。


一周融资&并购


本周全球教育领域融资事件共12起,国内5起,国外7起。


数据来源:睿兽分析&公开资料

(点击图片放大查看)


和码编程完成千万美元级A轮融资,将加强课程研发与区域布局


7月30日,和码编程宣布完成千万美元级A轮独家融资,投资方为皖新传媒旗下皖新资本,取势资本担任独家融资顾问。和码编程创始人莫剑斌向介绍,本轮所募资金将主要用于加强课程内容研发、产品迭代和扩大公司规模。除了公司总部所在的华南地区以外,下半年将加强对长三角地区的布局,并继续向二三线城市下沉。


一线城市一片红海,非一线庞大的用户群体看着喷喷香,成功下沉的机构却不多。和码编程从与一线城市用户转化比例差距较小的二三线城市入手,同时结合课程产品迭代,也许会是一条和缓保险的道路。


和码编程成立于2018年,是优品智学教育集团旗下的重点项目之一,是基于Scratch开发的在线少儿编程课程,目前主要专注于5-12岁儿童的在线学科编程教育,主打数理思维和编程技能培养。



趣记忆获网龙华渔领投4000万元融资


 7月30日,在线教育平台趣记忆宣布已获得由网龙华渔领投、顺为资本跟投的近4000万元首轮融资。趣记忆创始人、《最强大脑》中国战队总队长王峰向芥末堆表示,将以本轮融资为契机,用专业的记忆产品和优质的服务提升用户体验,全力打造以科学记忆和科技双驱动的K12在线教育平台。


作为一家专注中小学生记忆力提升的k12教育科技公司,趣记忆成立于2018年,创始团队由世界脑力锦标赛总冠军王峰及总亚军刘苏组成,主打科学记忆方法与学科知识相融合的在线课程,产品包括趣记忆APP、冠军记忆法特训营、线上直播课等。截至2020年6月,趣记忆APP的用户已覆盖全国29个省份,超过120个城市,并与湖北长岭中学、江西吉安中学等校展开合作。



青少儿英语业务估值约15亿美元?英孚教育引入璞米资本重大投资


7月28日,全球私募股权基金公司璞米资本和英孚教育宣布,璞米资本基金旗下公司将对英孚旗下英孚青少儿英语的瑞士总部及中国和印尼业务进行多数股权投资。英孚方面表示,将保留该业务的重要股权比例,并全力支持业务持续发展。


事实上,早在去年年初,就有消息称英孚在对是否出售部分中国业务进行权衡,并对外寻求儿童业务方向的融资。


此外,今年2月,据路透社援引知情人士消息,英孚教育已与璞米资本进行独家谈判,以出售其在中国的业务,该业务的估值为16亿美元。而在更早之前对英孚教育中国业务的两轮投标中,皆出现璞米资本的身影。据英国金融时报援引知情人士透露,此次璞米资本的投资对英孚青少儿英语(EF Kids & Teens)整个业务部门的估值约为15亿美元。


英孚教育方面表示,此次战略合作将进一步推动英孚青少儿英语业务的高速发展。英孚青少儿英语计划扩大线下英语学习中心的规模,大力投资优质教学项目,并提供更多将线下课堂教学与线上学习相结合的创新产品,如线上一对一和小班教学融合的双翼学习系统。



思考在线获清大教育集团战略投资,探索成人就学和就业领域


思考在线宣布获得清大教育集团(股票代码:839818)战略投资。本轮投资后,双方将立足职业教育赛道,探索成人就学和就业培训领域的更多可能性。


值得注意的是,清大教育集团已正式启动IPO计划,预计2022年左右整合旗下清大纵横、思考在线等品牌,在港交所或国内A股实现整体打包上市。


清大教育集团成立于2006年,是国内最早一批从事成人管理培训教育的机构之一,旗下包括新三板挂牌企业清大教育(股票代码:839818)、清大纵横、清大教育研究院、究竟大学等平台,是北京大学、清华大学等众多名校的教学科研基地。


思考在线前身是清大教育集团旗下学历/资格证书培训事业部,之后启用独立品牌“思考在线”,并于2019年2月取得了“思考在线”教育培训类商标。



芝士亲子早教完成千万元人民币天使轮融资


日前,芝士早教宣布完成千万元人民币天使轮融资,投资方为德迅投资。芝士亲子早教是一个线上家庭早教课程及服务互联网平台,致力于成为0-3 岁儿童早期教育的领导者。以特色的定制化早期教育课程、专业名师团队、优质品牌形象, 为中国年轻家庭提供性价比高的一站式互联网早教服务。


据悉,其育儿理念以哈弗育儿理念为基础,融合中国宝宝发育特点,独创“哈佛SMART教育发展体系”,通过“视频早教课+精品玩具+专属早教服务”,帮助宝宝全面发展九大能力,完成潜能开发。



印媒:字节跳动正在与印度在线教育平台Lido Learning就投资进行谈判


据印度《经济时报》报道,近日,据知情人士透露,字节跳动正在与印度教育科技公司Lido Learning就投资事宜进行谈判。字节跳动计划在快速增长的印度教育科技领域站稳脚跟。但多名知情人士表示,还不确定双方是否能最终达成交易。他们表示,Lido Learning也在与其他几家潜在投资者进行谈判。


Lido Learning首席执行官Sahil Sheth证实他们公司正在就新的融资进行谈判,但并未透露更多细节。字节跳动未对该消息作出回应。


Lido Learning由Sahil Sheth创办于2019年,总部位于印度孟买,其在线平台将内容与老师结合在一起,为K-10年级的学生提供数学和科学辅导课程,该公司通过web端平台和App为5000余名学生提供个性化教学。目前该公司已募集了至少2000万美元。


考虑到全球面临的压力,字节跳动的潜在投资非常诱人,尤其是在印度这个关键市场。上个月,印度政府禁止了59款中国App,其中包括字节跳动旗下的广受欢迎的短视频App TikTok。



印度玩具设计公司Smartivity完成5千万卢比D轮融资  


印度玩具设计初创公司Smartivity在近日完成了一笔5000万卢比的D轮融资。投资方为此前曾投资过该公司的Ashish Kacholia、Ant Space和Nirja Publishers,其中领投方为Ashish Kacholia,Ant Space和Nirja Publishers跟投。


Smartivity 成立于 2015 年,总部位于印度首都新德里,是一家基于增强现实的教育科技创业公司。公司现有两大产品系列,一个是基于STE(A)M(科学、科技、工程、艺术和数学)学习的自己动手工具,这一系列每一个活动都有一个基本的科学概念。另一个系列是Smartivity EDGE,这是Smartivity具有增强现实功能的学习活动。



西班牙初创企业ODILO获得1000万美元战略投资


日前,西班牙初创企业ODILO完成了一笔1000万美元的战略融资,投资方由Swanlaab Venture Factory领投,Endeavor Catalyst、CDTI、KIBO VC、JME VC、Active VP跟投。


ODILO是一个协作学习体验平台,通过为用户的个人和职业发展提供数字内容和学习服务,正在彻底改变组织的转型方式。据了解,其能提供超过300万个来自世界上最好的供应商的电子书、有声读物、文章、播客、视频或课程。



Tandem语言交换完成450万英镑A轮融资


日前,语言在线教育平台Tandem语言交换完成450万英镑A轮融资,投资方为Rubylight Limited、GPS Ventures、Trind Ventures、BrighteyeVentures。


据悉,用户注册平台之后,选择母语、第二外语和正在学习的语言,平台就会为用户匹配来自世界各地的语言学习伙伴,同时会匹配外教一对一视频聊天练习外语的口语听力。此外平台还开发了私人家教课程,致力于帮助用户快速掌握一门语言。



Super Chinese完成千万级人民币Pre-A轮融资


国际中文智能学习平台Super Chinese于近日完成千万级人民币Pre-A轮融资,投资方为青松基金。据Super Chinese创始人兼CEO唐希介绍,融资将主要用于下一阶段辅导课程的研发,以及全球汉语学习市场拓展等方面。此前,Super Chinese曾获得连尚网络的天使轮和零一创投的天使+轮投资。


Super Chinese成立于2018年,平台将人工智能技术和对外汉语讲学相结合,为汉语学习者提供汉语能力快速测试、学习计划定制、个性化汉语学习产品及服务等功能。目前平台拥有分布在200多个国家的超过300万用户和累计超过1亿条汉语学习数据。



印度教育技术创企Toppr获35亿卢比D轮融资


近日,印度教育企业Toppr完成35亿卢比D轮融资,投资方为Foundation Holdings领投,Kaizenvest跟投。


据悉,Toppr是一个在线考试题库,给那些想要读医学院和印度理工(IIT)的预科生们提供在线的入学模拟考题资源。除了会给出详细反馈和答案解析,还会提供真人邮件答疑的渠道。另外该公司表示,将使用此轮融资的收益来增加其自适应AI学习产品,并为编程和学校课程推出新的平台。此外,这笔资金还将用于开发基于AI的Toppr School操作系统。



美国大学生求职及人才评估平台AstrumU完成760万美元A轮融资


近日,美国初创企业AstrumU完成760万美元A轮融资。本轮融资由Kingdom Capital领投,海德思哲董事长亚当·沃比(Adam Warby)、DocuSign创始人考特·洛伦齐尼(Court Lorenzini),KC Rise Fund和City Light Capital跟投。


迄今为止,该公司的融资总额为1320万美元。本轮融资将用于继续推动平台发展。

AstrumU成立于三年前,总部位于美国西雅图,这家初创公司使用机器学习和预测分析技术来帮助学生找工作。它还能帮助企业评估人才,提供信息帮助大学调整人才培养方案,以适应当今的就业市场。


AstrumU的营收来源是高校和企业。这家公司能帮助高校弄清楚大学所学课程是在大学毕业后是如何转化为工作技能的。



财报速递


好未来2021年财年Q1净收入9.1亿美元,近3个月增加65家线下教学中心


7月30日,好未来公布了2021财年第一季度未经审计财务报告。报告显示,公司净收入从上年同期的6.734亿美元增长到本季的9.107亿美元,同比增幅为35.2%;净利润为8170万美元,上年同期净亏损为1620万美元。


财务和运营数据——2021财年第一季度

(单位:千美元,不包括每ADS净收益、学生人次和百分比)


好未来2021财年Q1财务数据显示,截至5月31日,公司净收入为9.107亿美元,较从上年同期的6.734亿美元,同比增长35.2%;经营利润为3550万美元,较上年同期经营利润4850万美元,同比下降26.8%。净利润为8170万美元,上年同期净亏损为1620万美元。


财报同时还提到,学生总人次(正价长期课)则从上年同期的172万人增长到本季的296万人,同比增长72.1%。截至 2020 年 5 月 31 日,好未来在 90 个城市共设有936个教学中心,多于截至 2020年2月29日设于70个城市的871个教学中心。


相关阅读:单季营收超9亿美元,净利同比增长超6倍,好未来走出亏损阴霾?| 财报



新东方2020财年净收入35.79亿美元,Q4净收入同比下降5.3%


7月28日,新东方公布了2020财年全年及第四季度财务业绩。2020财年,新东方净收入为35.79亿美元,同比增长15.6%;第四季度净收入7.98亿美元,同比下降5.3%。


对于新财年,俞敏洪表示,随着新东方逐步在超过90%的城市恢复了业务,这些城市中的大部分学生已从线上课程成功转移回到了新东方的学习中心,业务逐渐开始恢复。尽管短期内仍会面临各种挑战,但新东方对新财年及长远的业务前景感到乐观。


此外,新东方预计,2021财年Q1总营收将在9.11-9.54亿美元之间,同比下降幅度为15%-11%。


“OMO(即Online-Merge-Offline),最重要的是中间这个词Merge(融合),线上、线下的无缝对接,才叫做真正的融合。”俞敏洪此前曾谈到自己对OMO教育模式的理解。针对本财年状况,俞敏洪再次提出这种新业务模式正是未来发展的重点趋势,并可在未来大幅提升新东方的招生能力和盈利能力。作为在线教育机构的前浪,新东方的OMO故事,能否助其在在线业务再斩获一片江山?



新产品&新技术


钉钉上线“学生版”,面向全国1.5亿中小学生


钉钉正式上线“学生号”产品,主要面向全国中小学生用户群体。据了解,钉钉学生号可看成是“学生版钉钉”, 目前学生号只能通过家长领取,孩子加入所在学校钉钉班级群后便可获得领取学生号的资格。



钉钉方面表示,学生号是对家校共育和在线学习场景的进一步探索,可以更好地满足学生用户需求,给他们一个更为纯净专注的学习环境。 


2020年初,钉钉在疫情期间因被一星差评攻占,登上各个社交媒体平台热搜榜,成为不少人的“重点关注对象”。半年里,钉钉在教育领域也是频频发力。2月份,钉钉发布钉钉5.0,5月份发布5.1版本和“家校共育2.0”,推出“家校群”、“师生群”等常用家校功能,今日又上线了“学生版钉钉”,直接接触学生群体。


从2019年以智慧校园入局教育领域,钉钉的教育版图铺设才刚刚开始。



字节跳动趣味启蒙产品再添新丁,瓜瓜龙系列正与其他内部产品形成协同效应


近日,字节跳动上线教育新产品“瓜瓜龙语文”,针对2至8岁少儿提供语文启蒙教育服务。据了解,瓜瓜龙语文将阅读、国学等知识模块用趣味动画和AI智能互动形式呈现,这是继瓜瓜龙英语、瓜瓜龙思维之后,字节跳动在幼儿启蒙阶段瓜瓜龙产品系列的补充。



字节跳动的教育全产品链条正在逐步完善,在趣味启蒙这块,主要科目也基本已经补全。教育从娃娃抓起,字节跳动没有放过这些产品的推广,以及它和不同产品线之间的协同,它在下一盘All in的大棋,但要做很多毛细血管的工作,它能做出不一样的地方吗,能有革命性的突破吗,最终还是要用战果说话。



腾讯企鹅辅导和金太阳达成战略合作,启动“AI强基大本营”


腾讯企鹅辅导与金太阳签署战略合作,启动“AI强基大本营”主题活动,为强基计划下人才培养模式变革提供协同平台。据介绍,作为联动高校与高中进行人才衔接培养的协同平台,“AI强基大本营”在多个方面进行了探索:课程内容涵盖学科知识强化、学科竞赛思维培养、强基笔试大学先修课等;创立“强基双螺旋课程培养体系”,将强基计划所涉及到的综合能力考核课程化、智能化、大数据化;还将邀请高校专家教授、一线教学老师等进行双师授课和举办线下大本营活动。



魔力耳朵推出1对1课堂,支持“全班型”上课


魔力耳朵宣布将于8月1日推出“1对1”在线课堂。至此,魔力耳朵成为集1对4、1对2小班课堂,及1对1课堂的在线少儿英语平台。1对1小班课不需要学员重新报班缴费,只需在原有1对4小班课课时的基础上扣除1对1相应课时即可。学员可根据自己的喜好随意约班型。


据了解,除了推出“全班型”之外,魔力耳朵还于近日新推出安卓版本客户端以及手机版本客户端,全面覆盖手机、iPad、电脑各种设备,及安卓、Windows、IOS、MAC各种系统。



全面开放教研云系统,好未来持续发力K12 To B市场


7月28日,在“2020好未来TI智慧教育开放合作大会”上,好未来集团智慧教育开放平台事业部总裁黄琰宣布,好未来教研云系统将对全行业教师开放。在K12 To B市场好未来也将持续发力,旗下的To B品牌“未来魔法校”将与腾讯云联合打造双师直播课堂,此外,好未来还与中国教育科学研究院及培训学校代表共同发布未来学校2.0创新计划 


都说To B获客不易,但这也仅仅是To B业务的难点之一,价值交付不比To C来得直接、自家To B、To C 业务如何协调……这都是好未来等有To B 产品线的教育企业需要考虑的问题。


5月份,好未来对其创新业务进行了调整,合并To B、To G事业群。好未来方面称,此次调整主要因为疫情的影响,同时o B、To G业务都是偏系统、技术底层驱动,合并也能节省成本、提升效率。



宏观风向


教育部曝光8起违反教师职业行为十项准则问题


7月27日,教育部公开曝光8起违反教师职业行为十项准则典型问题,包括体罚幼儿、学术不端、受贿等方面。教育部表示对违规行为要保持高压态势,坚持力度不减、尺度不松、态度不变,坚决惩处违规行为。



首起幼儿园违规退费案,经法院调解退学家庭缴纳的费用全退


新冠肺炎疫情防控期间,位于朝阳区的一家连锁幼儿园在4月底单方制订退费政策引发家长不满。据负责审理该案的法官介绍,该民办幼儿园半学期的费用在7万元至10万元之间,全校涉及的学费就高达1600多万元,但按照幼儿园的退费政策核算下来,每名家长拿到手的退费只有3万多元。


这是疫情期间首起幼儿园违规退费案,经法院调解,退学家庭缴纳的费用全退,其余家长缴纳费用的70%顺延。



仝卓方要求恢复高考成绩,山西教育厅:正在核实,依法依规处理


自7月29日起,仝卓工作室通过微博发布多则消息,认为相关部门对仝卓的处理过重、过当,要求恢复仝卓的高考成绩。据大众网·海报新闻报道,7月30日,山西省教育厅工作人员表示,“现在我们已经收到仝卓一方的这个诉求,目前正在核实中,核实完会依法依规处理。”此前,仝卓因篡改往届生身份参加高考,各科成绩被取消。


7月29日,仝卓工作室发布微博称,“某市教育局是依据哪条法律法规撤销的高考成绩。一笔一划答的卷子,学籍学历我们不要的,分数凭什么撤销。”并称,目前正在进行行政复核程序。



备案整改期即将截止,1657家企业完成3611个教育App备案


7月28日,由教育部科技司指导的“教育信息化资讯”平台发布相关消息称,教育部科技司发布《2020年6月教育信息化和网络安全工作月报》显示,截至6月底,教育移动互联网应用程序备案管理系统公布了1657家企业的3611个教育App备案。


此前,该部门发布了《关于做好教育App的ICP备案和信息系统网络安全等级保护定级备案工作的公告》称,因疫情影响,教育App的ICP备案和信息系统网络安全等级保护定级备案时间延期,同时将对未按时完成备案的教育APP提供者进行通报,并限时1个月整改。对于7月31日前未完成整改的,将撤销其教育App备案。



北京将“一校一方案”推进复学复课,鼓励平台型企业开发智慧教育业务


据北京日报报道,在北京市十五届人大常委会第二十三次会议上,市发改委主任谈绪祥受市人民政府委托,向市人大常委会报告本市国民经济和社会发展计划2020年上半年执行情况。


下半年,北京要分区分类做好复工达产,还要坚持“一校一方案”平稳有序推进复学复课。


5G时代来临,今年年底前,北京市将新增5G基站1.3万个,实现五环内和城市副中心室外连续覆盖。同时,持续拓展新场景应用。推进预导诊机器人、人工智能辅助诊疗等技术在“智慧医院”布局,鼓励和支持各类平台型企业运用人工智能等技术开发智慧教育业务,将线上教育类服务纳入政府购买服务指导性目录。



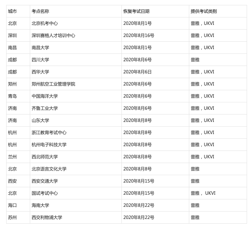
北京、成都等地8月起恢复雅思、GRE等海外考试


7月27日,教育部考试中心发布公告称,8月新增北京机考中心和深圳赛格人才培训中心2个机考考点及15个纸笔考试考点,包括北京、成都、青岛、济南、杭州等多个城市。同时,7月已恢复雅思考试的3个机考考点和12个纸笔考试考点继续提供各类雅思考试服务。


8月雅思新增线下考点。图源:中国教育考试网截图


此外,GRE考试在7月已恢复的考点基础上,自8月21日起新增6个复考考点,包括山东科技职业学院(潍坊)、北京外交人员服务局、西安交通大学、国试考试中心(北京)、山东大学、西交利物浦大学等。



2019年新增近2000家理财教育企业,较10年前增长800%


企查查公布数据,目前我国共有超10000家“理财教育”、“理财培训”相关企业,2019年相关企业新增近2000家。企查查还指出,理财行业风险信息增速惊人,仅2019年风险数即达到3.89万条,同比上升59%。





2020年研究生招生数突破110万,在学人数预计突破300万


7月29日,人民日报发表文章《从小到大,从弱到强,我国2020年研究生在学人数预计突破300万——为高质量发展提供智慧引擎》,指出我国2020年研究生在学人数预计将突破300万,具有研究生学历教师的比例达64.1%。


据了解,1949年研究生招收数仅为242人,在学人数仅629人;2012年研究生招生数的不到59万人;到2020年,招生数突破110万人,在学人数预计突破300万。


今年高校毕业生约达874万人,同比2019年增加了40万人,加上疫情的影响,企业裁员缩招,大学生就业面临更严峻的挑战。适度扩大研究生招生规模,一定程度上缓冲了就业压力。从“凤毛麟角”到“百万大军”,是教育资源日益丰富和社会用人要求提高的侧面反映,也是人才培养的进步。同时需要注意的是,学校不是批量生产车间,实现高学历人才规模化增长的同时,保证教育质量才是关键。



大连教育局:全市1322所幼儿园全部暂停入园


7月30日,大连市教育局局长赵阳在新闻发布会上称,随着疫情防控形势变化,本月24日,全市1322所幼儿园已全部暂停幼儿入园。


赵阳介绍,7月22日,大连市出现新冠肺炎确诊病例后,甘井子区大连湾街道31所幼儿园、西岗区工人村社区1所幼儿园和花园口经济区6所幼儿园已于7月23日采取停园措施。随着大连市疫情防控形势变化,7月24日,全市1322所幼儿园全部暂停幼儿入园。



大佬言论


北京四中网校高钧:智慧课堂教学改革是一个“由繁到简”、“由重到轻”的必经过程


今年正值国家“十三五”规划、《国家中长期教育改革和发展规划纲要(2010-2020年)》、《教育信息化十年发展规划(2011-2020年)》的收官之年。为了巩固多年来在智慧课堂建设中取得的成果与经验,扎实做好教育信息化基础设施建设,持续推进优质教育资源共建共享,北京四中网校高钧副校长为主编编写的《数据驱动下的智慧课堂精准教学》正式出版。


高钧副校长强调:“《数据驱动下的智慧课堂精准教学》从新时代下人才培养目标的视角,以教学场景为线索,以教学案例为载体,以学情数据和事实为依据,通过信息技术与教育教学的深度融合实践,最终实现了教师的教育理念革新、教学方法的重置、信息素养的提升。”



如果你也对本栏目感兴趣,欢迎入群交流,也可添加微信进群:Holly-Shaw


注:入群朋友请严格遵守添加要求:公司-职位-姓名,100%实名制,否则审核不通过,感谢理解。


应对市场接连不断的黑天鹅事件,2020年星际营,将全面行动升级

专为初创-A+轮阶段创始人打造的创业加速特训体系

你将能get:课程加速、融资加速、变现加速、曝光加速

现全国启动招募,等待优秀的你!

戳此报名


MORE | 更多精彩文章
● 张一鸣梦断美利坚,到底谁杀死了TikTok?

●  美团王兴深夜发文背后:腾讯和阿里的关键一战来了?
  80后高中生、缔造两家上市公司!美团王兴送80亿,他却“抠”到请投资人吃炸酱面 | 撩车
● 62岁医药首富退居二线,4名高管辞职,这家5000亿市值的巨头怎么了?

● 5年融资超7亿,用“数据”帮理想汽车造车,这位90后创业者做对了什么?

登录查看更多
0

相关内容

跟谁学是一个O2O找好老师学习服务电商平台,在北京2014年6月由陈向东带领创建。跟谁学专注于学习服务创新,致力于打造人人乐用的学习服务平台。跟谁学跟踪每一位学员的个性化需求及偏好,利用海量数据挖掘技术进行精准匹配,帮助学员找到最合适的老师,帮助老师最大化地体现价值。
《2020人工智能医疗产业发展蓝皮书》发布
专知会员服务
115+阅读 · 2020年9月11日
【机器学习术语宝典】机器学习中英文术语表
专知会员服务
61+阅读 · 2020年7月12日
专知会员服务
126+阅读 · 2020年6月12日
打怪升级!2020机器学习工程师技术路线图
专知会员服务
99+阅读 · 2020年6月3日
报告 | 2020中国5G经济报告,100页pdf
专知会员服务
98+阅读 · 2019年12月29日
资源 | 李航老师《统计学习方法》(第2版)课件下载
专知会员服务
255+阅读 · 2019年11月10日
组织|15000字解密华为的薪酬和激励体系
智慧云董事会
87+阅读 · 2019年6月19日
抖音和头条背后,字节跳动的AI实力有多强?
刘强东清明节回湖南湘潭认祖,带给乡亲100亿“小礼物”
中国企业家杂志
7+阅读 · 2018年4月7日
厉害!这家AI公司12个月市值2100亿,市盈率仅46!
全球人工智能
5+阅读 · 2018年3月21日
"AI+教育"是虚火还是风口?
数据玩家
3+阅读 · 2017年12月14日
HAQ: Hardware-Aware Automated Quantization
Arxiv
6+阅读 · 2018年11月21日
Meta-Learning with Latent Embedding Optimization
Arxiv
6+阅读 · 2018年7月16日
Arxiv
3+阅读 · 2018年4月3日
Arxiv
10+阅读 · 2018年2月9日
Arxiv
27+阅读 · 2017年12月6日
VIP会员
相关VIP内容
《2020人工智能医疗产业发展蓝皮书》发布
专知会员服务
115+阅读 · 2020年9月11日
【机器学习术语宝典】机器学习中英文术语表
专知会员服务
61+阅读 · 2020年7月12日
专知会员服务
126+阅读 · 2020年6月12日
打怪升级!2020机器学习工程师技术路线图
专知会员服务
99+阅读 · 2020年6月3日
报告 | 2020中国5G经济报告,100页pdf
专知会员服务
98+阅读 · 2019年12月29日
资源 | 李航老师《统计学习方法》(第2版)课件下载
专知会员服务
255+阅读 · 2019年11月10日
Top
微信扫码咨询专知VIP会员