AIGC变革游戏领域,微软申请实时合成音乐专利

2022 年 11 月 21 日 机器之心

机器之心报道

编辑:泽南
AI 作画还没火多久,AI 生成 BGM 就要来了。
人工智能在音乐领域上的应用,我们已见过自动编曲,风格迁移,还有高度拟人化的人声,这些技术结合起来可能会为游戏带来新的变化。最近,微软为一个强大的 AI 系统申请了专利,其可以为电影、游戏等实时创作音频乐谱。

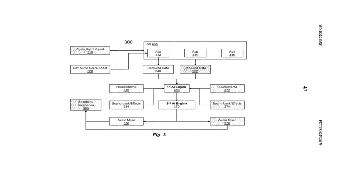
微软已在知识产权门户网站 WIPO 上申请了一项名为「用于编写音频乐谱的人工智能模型」(ARTIFICIAL INTELLIGENCE MODELS FOR COMPOSING AUDIO SCORES)的专利。

这是一种智能音频合成技术,用于为电影、电视节目、游戏甚至直播等各种媒体形式创作声音、音乐和其他音频元素。该专利提到了游戏中的动态时刻,表明它可以创作随玩家动作而变化的内容。该专利的摘要指出,算法可以使用视觉、音频和文本特征与提示(统称为「数据集」)来设置参数,以指示大量 AI 模型构建音频内容。

人工智能技术最近出现的突破,使其应用跨越了科研到艺术等多个领域。尽管已经发布了多个用于音频生成的 AI 工具,但微软的最新专利似乎暗示其专有的 AI 模型生态系统拥有迄今为止最全面、最先进的机器辅助音频创作能力。

对于游戏来说,人工智能的应用并是件新鲜事。从怪物行为、动态战斗难度到与 NPC 和环境的交互,AI 在游戏开发的很多细节上都是不可或缺的。在背景音乐方面,自适应 / 动态配乐是许多视频游戏中都有的特色,如新版毁灭战士、合金装备崛起:复仇、鬼泣 5 等。比如在鬼泣 5 中,歌曲随着人物的等级提高会更具活力。

微软的音乐 AI 可以实现远超现有游戏动态 / 自适应音乐的效果。在新方法中,玩家的动作可以为适当的音频提示和背景音乐实现实时、动态的评分。因此,音频体验会因人而异。作为「第九艺术」,许多游戏非常强调声音和音乐营造氛围,这些游戏可以受益于新技术提供的启发式方法。

在专利中,微软详细介绍了多种人工智能引擎,它们的任务是根据提供的数据集执行音频评分,可以分析人类的表情和情绪、收集位置数据、分析情境决定基调等等。人工智能可以通过学习图片、视频、影片和实时活动来生成一组音频文件,这些文件可以将视觉效果与适当的音效和音乐叠加在一起。

这种新形式的人工智能创作方式可以为我们开辟许多令人兴奋的方向。人们可以用它去制作电影、游戏等,拥有一个包含各种不断增长的音频乐谱的庞大曲库。为英雄的入场设计史诗般的管弦乐曲,为宠物的逝去谱写忧郁的曲调,为枪声和爆炸声开发音效——所有这些都可以委托给人工智能算法。当然另一方面,作曲家和声音设计师可能会像之前绘画 AI 兴起时一样开始担忧了。

微软表示,该技术将由云计算提供支持,音乐生成系统何时真正投入使用还有待观察。有了这样不断扩展的数据库,人工智能系统将需要一个非常强大的基础设施。

有趣的是,正在被微软收购的动视暴雪也有一个 AI 生成游戏音乐的专利申请。今年 10 月,外媒发现暴雪设计了一种根据玩家活动使用 AI 创作音乐的技术。


根据专利描述,动视暴雪似乎希望这种 AI 生成的音乐系统主要用于多人游戏。我们说不定能在即将推出的暗黑破坏神 4、使命召唤:现代战争 2 中看到它。

看起来,AI 背景音乐是一个很有前途的方向,微软可能正在这方面引领一场革命。

参考内容:
https://gamerant.com/microsoft-patent-ai-video-game-soundtracks/
https://www.shacknews.com/article/132699/activision-blizzard-ai-music-games


© THE END 

转载请联系本公众号获得授权

投稿或寻求报道:content@jiqizhixin.com

登录查看更多
1

相关内容

专利(Patent)是专知网收录整理的一个重要资料文档板块,旨在通过人机协作的方式整理、挖掘国内外发明专利信息,提供便于科技工作者查阅的高质量知识信息。
大模型推动的人机交互对话
专知会员服务
136+阅读 · 2023年1月15日
腾讯发布《2023年十大数字科技前沿应用趋势》,73页ppt
专知会员服务
71+阅读 · 2022年12月16日
【2022新书】机器学习的实用模拟与合成,428页pdf
专知会员服务
99+阅读 · 2022年8月10日
微软招聘视频号@你
微软招聘
0+阅读 · 2022年7月6日
新身份!自动化所“紫东太初”大模型担任央视音乐节目人工智能导师
中国科学院自动化研究所
1+阅读 · 2022年1月9日
利用 AIST++ 生成音乐条件下的 3D 舞蹈
TensorFlow
1+阅读 · 2021年10月12日
国家自然科学基金
0+阅读 · 2013年12月31日
国家自然科学基金
0+阅读 · 2013年12月31日
国家自然科学基金
0+阅读 · 2013年12月31日
国家自然科学基金
0+阅读 · 2012年12月31日
国家自然科学基金
0+阅读 · 2012年12月31日
国家自然科学基金
0+阅读 · 2012年12月31日
国家自然科学基金
0+阅读 · 2012年12月31日
国家自然科学基金
1+阅读 · 2012年12月31日
国家自然科学基金
3+阅读 · 2011年12月31日
国家自然科学基金
0+阅读 · 2009年12月31日
An Overview on Machine Translation Evaluation
Arxiv
14+阅读 · 2022年2月22日
Arxiv
31+阅读 · 2022年2月15日
Cold-start Sequential Recommendation via Meta Learner
Arxiv
15+阅读 · 2020年12月10日
VIP会员
相关VIP内容
大模型推动的人机交互对话
专知会员服务
136+阅读 · 2023年1月15日
腾讯发布《2023年十大数字科技前沿应用趋势》,73页ppt
专知会员服务
71+阅读 · 2022年12月16日
【2022新书】机器学习的实用模拟与合成,428页pdf
专知会员服务
99+阅读 · 2022年8月10日
相关基金
国家自然科学基金
0+阅读 · 2013年12月31日
国家自然科学基金
0+阅读 · 2013年12月31日
国家自然科学基金
0+阅读 · 2013年12月31日
国家自然科学基金
0+阅读 · 2012年12月31日
国家自然科学基金
0+阅读 · 2012年12月31日
国家自然科学基金
0+阅读 · 2012年12月31日
国家自然科学基金
0+阅读 · 2012年12月31日
国家自然科学基金
1+阅读 · 2012年12月31日
国家自然科学基金
3+阅读 · 2011年12月31日
国家自然科学基金
0+阅读 · 2009年12月31日
Top
微信扫码咨询专知VIP会员