Redmi K50 新机卖这个价格,你觉得如何?

2022 年 2 月 7 日 ZEALER订阅号




Redmi K50 全系售价曝光

电竞版或卖 3499 元起


据外媒报道,@Shadow_Leak 声称已获得 Redmi K50 系列的定价和芯片组详细信息。Redmi K50 搭载骁龙 870 处理器,支持 67W 快充,1999 元人民币起;Redmi K50 Pro 搭载天玑 8000,支持 66W 快充,2699 元人民币起;Redmi K50 Pro+ 搭载天玑 9000,支持 120W 快充,3299 元人民币起;Redmi K50 电竞版搭载骁龙 8 Gen1,支持 120W 快充,3499 元人民币起。



从爆料信息可以看出,Redmi K50 电竞版的售价比预期略高,且会成为 K50 系列的首发机型。只是不知道的是,骁龙 8 Gen 1、电竞手机加上 120W 的快充是否能够支撑起来这样的价格。另外一个值得注意的是 Redmi K50 Pro+ 卖到了 3000 元,虽然搭载了联发科处理器,但是天玑 9000 这次在参数上非常强悍,并不逊色于骁龙 8 Gen1。对于 Redmi 来说,是持续冲击高端价位的一次尝试。



此外,Redmi 今日发布了 K50 系列官宣海报,并表示新机调校打磨工作已全面Ready,正式进入发布倒计时。官方海报预热了 K50 系列今年首款产品,据爆料为 K50 电竞版,定位“性能巅峰旗舰”。小米卢伟冰在微博上表示,本计划今天宣布 K50 发布时间,结果却被市场部拦下来了,但卢伟冰透露将于本月 25 日之前发布。




MacBook Pro 2022 款将配备 M2 芯片

砍掉 Touch Bar,无自适应刷新率


据彭博社的马克·古尔曼报道,苹果正在考虑将 M2 芯片应用在入门级 MacBook Pro 上,以取代 2020 年 11 月推出的 M1 机型。而且,为了让 2021 款 MacBook Pro 与 M1 Pro 以及 M1 Max Mac 有所区分,新款笔记本的显示器、处理器以及存储方面会有所区别,预计还将砍掉 Touch Bar。



他表示,它将是众多配备 M2 芯片的 Mac 新品之一,包括对 24 英寸 iMac、入门级 Mac mini 和改进版 MacBook Air 的更新。所以这台 Mac 可能会采用 LCD 屏幕,砍掉 miniLED 面板和 ProMotion 支持。另外一款 MacBook Air 则可能配备 miniLED 显示屏,但没有 ProMotion。



此外,不仅入门级 MacBook Pro 将使用 M2 芯片,而且新款 24 英寸 iMac、入门级 Mac mini 和新款的 MacBook Air 均将于今年某个时候推出。




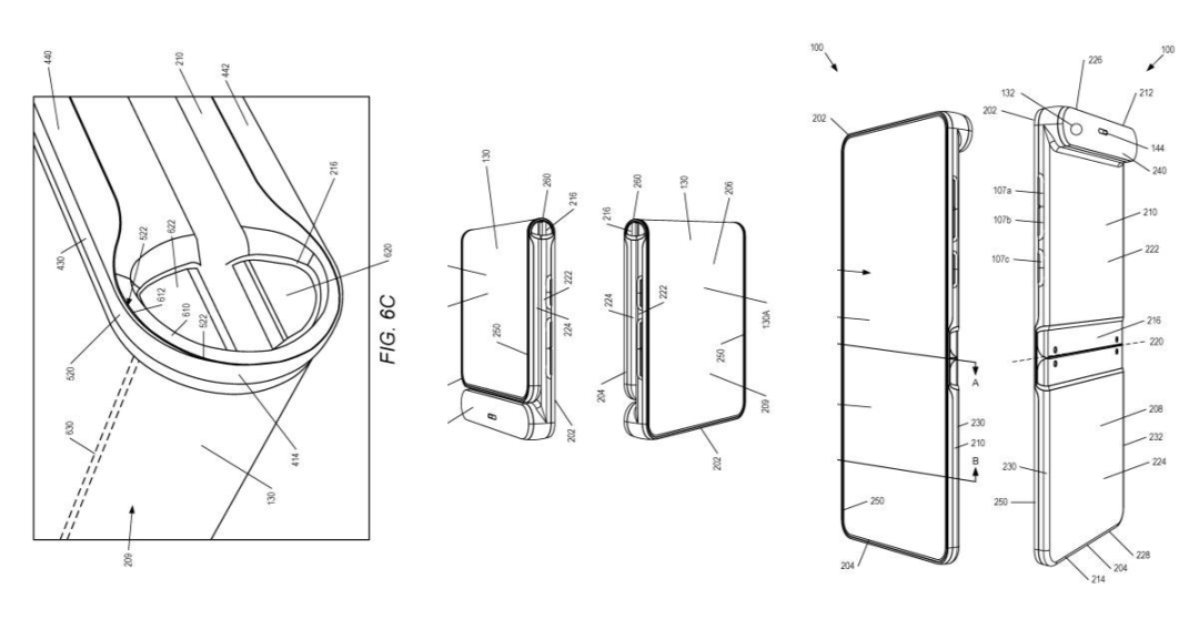
摩托罗拉翻盖外折叠屏手机专利曝光

Razr 与华为 Mate X 合二为一


据外媒今日报道,摩托罗拉获得了 WIPO(世界知识产权组织)授予的另一项可折叠手机的专利,设备高而窄,像 Razr 一样但屏幕在外面,可折叠显示屏包裹着它,折叠后形成一个双屏幕设备。



该专利显示,手机顶部留有一个凸起的模块,用于设置摄像头,这意味着屏幕的底部将更短,不难想象这个新的专利设备是 moto Razr 和华为 Mate X 两款折叠屏手机的结合体。这意味着机身内部的铰链将是一个全新的解决方案,设计目的在于尽量减少折痕,并允许手机在没有任何缝隙的情况下平齐折叠。如果该设备进入市场,实际机制中会有一些移动部件,允许面板自由弯曲。



去年 12 月,联想集团中国区手机业务部总经理陈劲预告,摩托罗拉打造的第三代折叠屏手机即将登场。XDA 爆料称摩托罗拉 Razr 3 搭载高通骁龙 8 旗舰处理器,最高配备 12GB 内存,主屏为挖孔屏形态,刷新率为 120Hz。爆料称该机也有副屏,它和华为 P50 Pocket 一样可以显示通知、来电信息等。




苹果 AirPods Max 2 无线耳机曝光

耳罩按钮或改为触控式


据 Patently Apple 今日报道,第二代 AirPods Max 将弃用数字表冠(Digital Crown),转而使用触控控制。报道称,包括近期获得的专利苹果已经获得了 3 项与触控控制相关的技术专利。这些触控可以更容易切歌、调用 Siri,调高或调低音量等。



在专利摘要中写道,这种电子设备包括:至少一个第一触摸感应表面;一个或多个处理器;以及存储一个或多个程序的存储器,这些程序被配置为由一个或多个处理器执行,一个或多个程序包括以下指令。在至少一个第一触摸感应表面检测第一手势,包括检测第一手势相对于触摸感应表面的方向;以及响应于检测第一手势:根据确定电子设备处于第一设备方向以及第一手势的方向与第一预定方向相对应,执行第一动作。



实际上,苹果曾为 AirPods Max 尝试过使用触摸的方式来进行控制,但最终由于技术限制选择了表冠的设计。不过目前并没有什么有关 AirPods Max 2 佩戴舒适性的解决方案,如果苹果不能在 AirPods Max 2 上带来一些较为突出的技术特性,可能也并不能解决苹果在高档耳罩式耳机上的发展瓶颈。






速来领取 ZEALER 专属数码年货大礼包



春节倒计时!ZEALER 专属数码年货大礼包已备好!速来瓜分!


上 ZEALER 报名「新春打卡挑战赛」,打卡 5 天瓜分千元数码年货大礼包,打卡 7 天必中 ZEALER 专属定制礼物!祝大家虎年行大运!扫上方二维码或戳左下角「阅读原文」即可领走属于你的虎年礼物啦!


『热 门 推 荐』

登录查看更多
0

相关内容

【MIT Sam Hopkins】如何读论文?How to Read a Paper
专知会员服务
108+阅读 · 2022年3月20日
【UC伯克利Shreya Shankar】机器学习产品化
专知会员服务
30+阅读 · 2021年11月27日
专知会员服务
41+阅读 · 2021年9月17日
如何学好数学?这有一份2021《数学学习路线图》请看下
【经典书】线性代数,352页pdf教你应该这样学
专知会员服务
107+阅读 · 2020年12月20日
【Contextual Embedding】什么时候上下文嵌入值得使用?
专知会员服务
16+阅读 · 2020年8月2日
【高能所】如何做好⼀份学术报告& 简单介绍LaTeX 的使用
对电竞无感?Redmi K50 新机下月就来
ZEALER订阅号
0+阅读 · 2022年2月17日
Redmi K50 Pro 长这样,你觉得如何?
ZEALER订阅号
0+阅读 · 2022年1月10日
Redmi K50 系列真能成 2022 年「旗舰焊门员」吗?
ZEALER订阅号
0+阅读 · 2021年12月11日
国家自然科学基金
0+阅读 · 2015年12月31日
国家自然科学基金
0+阅读 · 2013年12月31日
国家自然科学基金
2+阅读 · 2013年12月31日
国家自然科学基金
0+阅读 · 2013年12月31日
国家自然科学基金
0+阅读 · 2012年12月31日
国家自然科学基金
0+阅读 · 2012年12月31日
国家自然科学基金
0+阅读 · 2011年12月31日
国家自然科学基金
0+阅读 · 2009年12月31日
国家自然科学基金
0+阅读 · 2009年12月31日
Arxiv
103+阅读 · 2021年6月8日
A Comprehensive Survey on Transfer Learning
Arxiv
121+阅读 · 2019年11月7日
VIP会员
相关VIP内容
相关资讯
对电竞无感?Redmi K50 新机下月就来
ZEALER订阅号
0+阅读 · 2022年2月17日
Redmi K50 Pro 长这样,你觉得如何?
ZEALER订阅号
0+阅读 · 2022年1月10日
Redmi K50 系列真能成 2022 年「旗舰焊门员」吗?
ZEALER订阅号
0+阅读 · 2021年12月11日
相关基金
国家自然科学基金
0+阅读 · 2015年12月31日
国家自然科学基金
0+阅读 · 2013年12月31日
国家自然科学基金
2+阅读 · 2013年12月31日
国家自然科学基金
0+阅读 · 2013年12月31日
国家自然科学基金
0+阅读 · 2012年12月31日
国家自然科学基金
0+阅读 · 2012年12月31日
国家自然科学基金
0+阅读 · 2011年12月31日
国家自然科学基金
0+阅读 · 2009年12月31日
国家自然科学基金
0+阅读 · 2009年12月31日
Top
微信扫码咨询专知VIP会员