韩媒:苹果正在研发两款可折叠产品 分别为上下和左右折叠

2021 年 9 月 20 日 威锋网



点击上方蓝色字体,关注我们

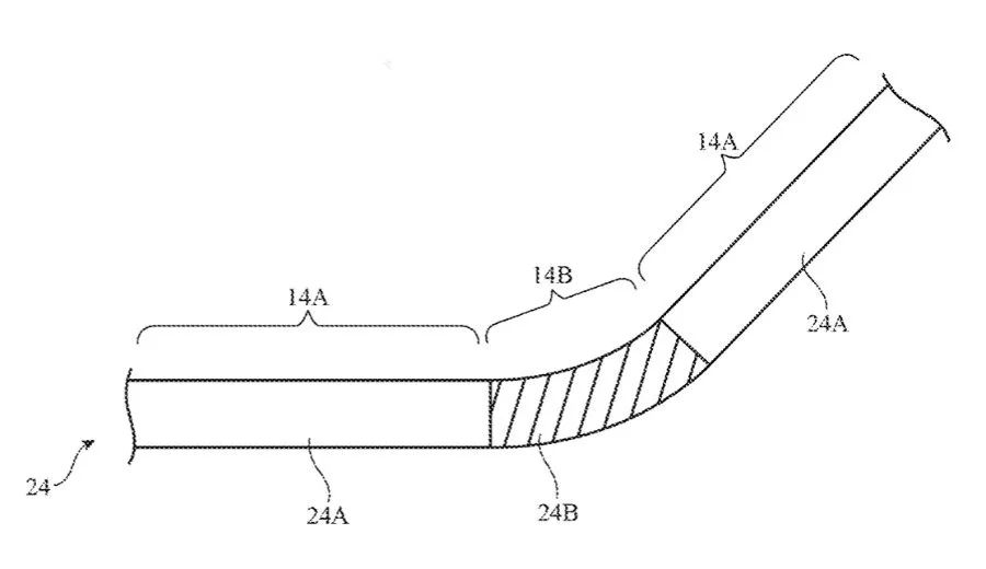
今天据韩媒消息,苹果预计将在2023年发布第一款可折叠iPhone。根据业内专家的说法,苹果正在研发两款可折叠产品,一种是上下折叠,另一种是左右折叠,就像三星的Z Flip和Z Fold一样。
据悉,苹果和三星正在共同开发一款可折叠的OLED面板,并将推出可折叠iPhone。有传言称,该面板是7.5英寸的折叠式显示面板,采用蚀刻技术来减小厚度。苹果首款可折叠iPhone预计将是一款翻盖智能手机。
根据市场研究公司DSCC的研究,三星电子去年在可折叠智能手机市场的份额预计为87%。即使在苹果首款可折叠智能手机亮相后,这一比例也不太可能降至75%以下。
今年早些时候,郭明錤暗示可折叠iPhone将在2023年发布,但“这个项目还没有正式启动”,这可能意味着它们可能会被推迟,甚至可能像期待已久的AirPower那样被搁置。
根据Counterpoint Research and Strategy Analytics最近的一项研究,可折叠智能手机的市场规模预计在2023年达到9000万部,2025年达到1亿部。





(商务合作请联系:lin.chen@office.feng.com)

 你有「在看」吗 ?

登录查看更多
0

相关内容

苹果电脑公司(Apple Inc.) 设计并创造了 iPod 和 iTunes、Mac 便携式和台式电脑、OS X 操作系统以及革命性的 iPhone 和 iPad。 http://www.apple.com (全球) apple.com.cn (中国)
【UC伯克利Shreya Shankar】机器学习产品化
专知会员服务
30+阅读 · 2021年11月27日
中国无线经济白皮书,49页pdf
专知会员服务
16+阅读 · 2021年10月21日
专知会员服务
45+阅读 · 2021年10月6日
5G AIoT全景商用产品手册,52页pdf
专知会员服务
51+阅读 · 2021年9月10日
2021年中国人工智能在工业领域的应用研究报告(附报告)
专知会员服务
52+阅读 · 2020年12月28日
华为等发布《视觉Transformer转换器》综述论文,21页pdf
专知会员服务
86+阅读 · 2020年12月25日
AI创新者:破解项目绩效的密码
专知会员服务
35+阅读 · 2020年6月21日
苹果正在继续扩大其mini-LED面板的供应链
威锋网
0+阅读 · 2022年3月27日
折叠屏 iPhone,悬了?
ZEALER订阅号
0+阅读 · 2022年2月22日
折叠屏 iPhone 再曝光,最快明年发布!
ZEALER订阅号
0+阅读 · 2022年1月7日
传iPhone 14 Pro系列的打孔屏将由三星和LG提供
威锋网
0+阅读 · 2021年12月24日
国家自然科学基金
2+阅读 · 2013年12月31日
国家自然科学基金
0+阅读 · 2012年12月31日
国家自然科学基金
0+阅读 · 2012年12月31日
国家自然科学基金
0+阅读 · 2012年12月31日
国家自然科学基金
0+阅读 · 2011年12月31日
国家自然科学基金
0+阅读 · 2009年12月31日
国家自然科学基金
0+阅读 · 2009年12月31日
国家自然科学基金
0+阅读 · 2009年12月31日
国家自然科学基金
0+阅读 · 2008年12月31日
Arxiv
0+阅读 · 2022年4月19日
Arxiv
0+阅读 · 2022年4月17日
Arxiv
28+阅读 · 2021年5月17日
Arxiv
24+阅读 · 2017年3月9日
VIP会员
相关VIP内容
【UC伯克利Shreya Shankar】机器学习产品化
专知会员服务
30+阅读 · 2021年11月27日
中国无线经济白皮书,49页pdf
专知会员服务
16+阅读 · 2021年10月21日
专知会员服务
45+阅读 · 2021年10月6日
5G AIoT全景商用产品手册,52页pdf
专知会员服务
51+阅读 · 2021年9月10日
2021年中国人工智能在工业领域的应用研究报告(附报告)
专知会员服务
52+阅读 · 2020年12月28日
华为等发布《视觉Transformer转换器》综述论文,21页pdf
专知会员服务
86+阅读 · 2020年12月25日
AI创新者:破解项目绩效的密码
专知会员服务
35+阅读 · 2020年6月21日
相关基金
国家自然科学基金
2+阅读 · 2013年12月31日
国家自然科学基金
0+阅读 · 2012年12月31日
国家自然科学基金
0+阅读 · 2012年12月31日
国家自然科学基金
0+阅读 · 2012年12月31日
国家自然科学基金
0+阅读 · 2011年12月31日
国家自然科学基金
0+阅读 · 2009年12月31日
国家自然科学基金
0+阅读 · 2009年12月31日
国家自然科学基金
0+阅读 · 2009年12月31日
国家自然科学基金
0+阅读 · 2008年12月31日
Top
微信扫码咨询专知VIP会员