未来Apple Watch将提醒你何时该擦防晒霜

2018 年 7 月 20 日 威锋网

苹果的专利能够在使用者需要重新涂抹防晒霜时提醒他们,这对防止晒伤有极大的帮助。

我们已经报道了一系列关于 Apple Watch 的传闻和专利申请,这些报道暗示着苹果对其可穿戴设备的未来有着更大的野心。苹果不仅探索了各种新的手表设计,包括一款带有圆形显示屏的手表,而且对所谓的模块化“Apple Watch 概念”也很有兴趣,该概念将允许用户把各种特定的配件连接到自己的设备上。


苹果 CEO 库克曾多次暗示,该公司有兴趣开发先进的健康监测工具,并以此为最终目标。理论上,这些工具可以与 Apple Watch 绑定,也可以按需进行无线连接。本周,美国专利和商标局(USPTO)发布了另一项与 Apple Watch 有关的苹果专利,通过该技术,用户可以将 Apple Watch 作为防止晒伤的可靠工具。

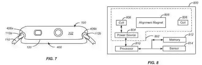
苹果的这项“基于光的防护检测”专利最初提交于 2017 年 12 月,它详细介绍了一种技术先进的防晒霜探测器,可以与 Apple Watch 等便携式设备一起使用。专利文献指出,虽然防晒霜的特征是防晒系数(SPF),但特定产品的功效最终取决于几个因素——比如涂了多少防晒霜,防晒霜的防水阈值,甚至是穿戴者的皮肤敏感性。


从纯粹的技术角度来说,苹果的专利能够在使用者需要重新涂抹防晒霜时提醒他们,这对防止晒伤有极大的帮助。当然,苹果的专利要比单纯的提醒要复杂一些。新专利的焦点是“紫外线和红外探测器”,通过 Apple Watch 的显示屏,用户可以观察到可能缺乏足够保护的区域,并获得何时、何地以及多久涂抹更多防晒霜的通知。


苹果公司解释说,该系统可以在更黑暗的环境中提供更详细的检测,比如有遮挡的室外浴室。利用相机镜头和增强现实,系统能将检测到的任何不受保护的皮肤区域创建成图像或视频,让用户更深入地了解他们皮肤的哪些区域需要注意。

需要提到的是,这仍然是一项专利申请。跟其他苹果专利一样,我们无法确定它会在什么时候进入商业化阶段。外界普遍预计,苹果将在今年秋季推出新款 Apple Watch Series 4,但目前尚不清楚该公司是否计划推出新的 Apple Watch 健康配件。



往期精彩回顾

教你轻松享受 2018苹果教育优惠

世界表情日:苹果官网高管头像换成Memoji

苹果iPhone御用 康宁第六代大猩猩玻璃发布

苹果发布iOS 12系统第四个开发者测试版

2018新一代iPhone前面板曝光 LCD边框最宽


2018苹果教育优惠相关信息请在公众号回复“苹果教育优惠”

登录查看更多
0

相关内容

WATCH 是苹果公司于 2014 年 9 月公布出来的一款智能手表。分为运动款、普通款和定制款三种(WATCH Sport、WATCH 和 WATCH Edition)。
最新《Deepfakes:创造与检测》2020综述论文,36页pdf
专知会员服务
65+阅读 · 2020年5月15日
德勤:2020技术趋势报告,120页pdf
专知会员服务
192+阅读 · 2020年3月31日
【阿里巴巴】 AI编译器,AI Compiler @ Alibaba,21页ppt
专知会员服务
45+阅读 · 2019年12月22日
已删除
AI科技评论
4+阅读 · 2018年8月12日
无人零售的正确打开方式,到底是什么?
黑智
3+阅读 · 2018年1月22日
无人驾驶汽车
劲说
6+阅读 · 2016年8月26日
Arxiv
14+阅读 · 2018年4月6日
VIP会员
相关VIP内容
最新《Deepfakes:创造与检测》2020综述论文,36页pdf
专知会员服务
65+阅读 · 2020年5月15日
德勤:2020技术趋势报告,120页pdf
专知会员服务
192+阅读 · 2020年3月31日
【阿里巴巴】 AI编译器,AI Compiler @ Alibaba,21页ppt
专知会员服务
45+阅读 · 2019年12月22日
相关资讯
已删除
AI科技评论
4+阅读 · 2018年8月12日
无人零售的正确打开方式,到底是什么?
黑智
3+阅读 · 2018年1月22日
无人驾驶汽车
劲说
6+阅读 · 2016年8月26日
Top
微信扫码咨询专知VIP会员