8点1氪:俞渝称李国庆抢走营业执照,呼吁员工保卫当当;海关总署:代购3年内不得在海南离岛免税购物;微信将支持小程序分享到朋友圈

2020 年 7 月 8 日 36氪




李国庆又和前妻“杠”上了。


文 | 郭宇 巴芮

整理 |  Kr Lab
点击上方「36氪随声听」,一键收听大公司热门新闻。听完音频记得添加进入「我的小程序中哟!

俞渝发布内部信:李国庆把婚姻法带入公司法,扰乱公司运行
7月7日晚间,当当网董事长兼CEO俞渝发布了一封全员内部信称,李国庆今天清晨六点多钟,带30人来到办公室,将几个保安堵住,进入办公区,用电钻撬开保险柜,抢走了营业执照和U盾,保安受伤。对此,俞渝呼吁当当员工“行动起来,发微博、发朋友圈,保卫自己、保卫当当,保卫顾客,保卫供应商”,并表示:“我愤怒李国庆把婚姻法带入公司法,不断折腾我们的公司。”此外,俞渝还“恳请、呼吁朝阳区政府、朝阳公安”:保护企业正常生产经营的权力,保护员工人身安全。(澎湃)
李国庆发布当当组织结构及人员调整公告
36氪获悉,李国庆昨日下午宣布调整当当网组织结构及人员。聘请姚丹骞出任当当代理CEO,主持公司全面工作;聘请陈立均出任当当COO,负责公司各项业务的日常管理工作。

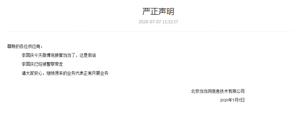
当当:李国庆再次诉诸武力,清晨强行进入当当,撬开多处保险柜
36氪获悉,当当网法务部通过当当官方微博发布消息称:“李国庆再次诉诸武力,带二十多人,清晨强行进入当当,撬开多处保险柜,拿走资料。公司已报警,目前处理当中。当当顾客的正常购买,供应商的正常结算,都不会受影响。抱歉,惊扰大家,媒体请勿来访。我们尊重法律的程序,相信法律的正义。”随后 当当网方面向供应商发表严正声明:李国庆今天微博说接管当当了,这是假话。李国庆已经被警察带走。请大家安心,继续原来的业务代表正常开展业务。(第一财经)

海关总署:代购3年内不得在海南离岛免税购物
7月6日,海关总署发布重新修订的《中华人民共和国海关对海南离岛旅客免税购物监管办法》。其中规定,离岛旅客有下列情形之一的,3年内不得享受离岛免税购物政策,并可依照有关规定纳入相关信用记录:①以牟利为目的,为他人购买免税品或将所购免税品在国内市场再次销售的;②购买或者提取免税品时,提供虚假身份证件或旅行证件、使用不符合规定身份证件或旅行证件,或者提供虚假离岛信息的;③其他违反海关规定的。(中新经纬)
OYO中国区CFO李维确认离职
7月6日OYO发布内部信宣布,CFO李维离职。李维此前在神舟租车担任COO兼CFO四年时间,以融资能力在业内闻名,更早之前在恒信金融租赁任职CFO近4年。(界面)
美国正式退出世卫组织
当地时间7月7日,美国国会已经正式收到特朗普政府关于退出世卫组织的通知。(央视新闻)
一加电视新品印度开售,1分钟售罄
近日,一加在印度推出U系列和Y系列安卓电视,包括55英寸的4K机型、43英寸的全高清机型和32英寸的高清机型,均运行Android TV Pie系统,并带有名为OxygenPlay的一加定制内容推荐界面。这些一加电视新品在印度开售1分钟后售罄,一加方面表示正在准备下一轮的开售。(IT之家)
字节跳动中国CEO张楠:抖音继续为香港用户提供服务
针对此前媒体报道抖音将退出在香港的谷歌和苹果应用商店的传闻,字节跳动中国CEO张楠回复:抖音在香港有很多用户,将继续为香港用户提供服务。知情人士透露,此次受到影响的并非抖音,而是TikTok。(财联社)
饿了么:全国已有超500家高校食堂上线平台
36氪获悉,7月7日,浙江大学后勤集团与饿了么达成战略合作,旗下食堂开通外卖服务。据饿了么方面介绍,截至目前,全国已有100座城市的超500家高校食堂上线饿了么。未来一年,饿了么还要帮300座城市、2000所高校开通外卖服务。
BOSS直聘:2020年应届生约0.9%选择自媒体博主、电竞师等自由职业和创业身份
36氪获悉,日前,教育部提出“开设网店、从事互联网营销、电子竞技和运营公众号”属于自由职业。据招聘平台BOSS直聘数据显示,约0.9%的2020年应届生选择了自媒体博主、电竞师、网店店主等自由职业和创业身份。
美团将成立“优选事业部”,小象更名为“买菜事业部”
昨日,美团发布组织调整公告表示,将成立“优选事业部”,由美团高级副总裁、S-team成员陈亮负责。同时,原小象事业部更名为“买菜事业部”,负责人为辛崇阳,向陈亮汇报。(新浪科技)
路透社:蓬佩奥称美国要禁止TikTok等中国应用程序
据路透社报道,美国国务卿迈克 · 蓬佩奥 ( Mike Pompeo ) 周一晚间表示,美国 “ 确实在研议 ” 禁止包括 TikTok 在内的中国社交媒体应用。报道指出,蓬佩奥在接受福克斯新闻频道 ( Fox News ) 专访时表示:“ 我不想先于特朗普总统透露这一消息,但我们确实在研究此事。”( IT之家 )
微星官方公告:CEO 江胜昌因个人健康原因骤然辞世
7月7日晚间消息,微星科技官方发布公告,确认公司总经理兼 CEO 江盛昌于今日稍早因个人健康因素骤然辞世。微星表示,公司同仁甚为哀痛,目前公司已经启动紧急应变措施,各部门营运正常。公告发布后,大量微星用户和网友纷纷表达哀悼。

深交所:暴风集团股票暂停上市
深交所公告,暴风集团股份有限公司在法定披露期限届满之日起两个月内仍未披露2019年年度报告。深交所决定暴风集团股份有限公司股票自2020年7月8日起暂停上市。(证券时报)
金融借贷App“给你花”等9款产品被指静默偷拍
360安全大脑近日监测,截至今年6月中旬,共发现信用袋、给你花、呗呗花、万分期贷、花易贷、今日钱包、鱼跃分期、鱼米分期、开心果等9款软件,这些软件“偷盗”手段相比以往略有不同,除了非法收集用户敏感通讯数据外,还会尝试对用户面部图像进行静默偷拍与上传。(北京日报)
阿里云接到多家券商扩容需求,应对App卡顿等问题

阿里云日前收到多家券商扩容需求,以应对突然激增的交易需求所导致的券商App数据延迟、交易卡顿等问题。对此,阿里云工程师表示,这一般是因为券商某一个地区瞬间下单的并发量或者行情刷新请求量超过了该券商交易系统的设计容量,如果核心系统经过分布式改造,简单扩容云资源就可以迅速解决此类问题。(金融界)

第77届威尼斯电影节将于9月2日按期举行
威尼斯电影节主办方宣布本届电影节将按期在9月2日至12日举办,成为近期首个没有因新冠疫情取消或推迟的国际大型电影节。本届威尼斯影片放映仍在丽都岛的电影院中举行,将遵循社交距离等安全规定。(网易)

6月11日以来北京首次实现零新增
昨天下午,在北京市新型冠状病毒肺炎疫情防控工作第144场新闻发布会上,市委宣传部副部长、市政府新闻办主任、市政府新闻发言人徐和建介绍,7月6日,北京无新增报告本地确诊病例、疑似病例,新增无症状感染者1例,昨天北京首次实现了零新增。(北京日报)

AI视频面试SaaS服务商“近屿智能”获数千万元Pre-A轮融资
36氪获悉,AI视频面试SaaS服务商“近屿智能”完成数千万元Pre-A轮融资,本轮融资由英诺天使领投,上一轮投资方金沙江创投继续跟投。CEO方小雷表示,本轮融资将主要用于AI算法、产品细节的打磨以及销售拓展。近屿智能去年7月获得金沙江创投和科大讯飞产业加速中心的800万元天使轮融资。
“亿景智联”获千万级天使轮融资
36氪获悉,“亿景智联”近日获得了千万人民币级别的天使轮融资,由第四范式领投,御势资本、天亿创新跟投。本轮融资将主要用于技术研发、市场拓展、项目落地以及搭建咨询服务团队。亿景智联是一家结合AI技术、大数据和时空智能技术,为政府及企业客户提供时空数据智能平台的公司。亿景智联提供的服务包含产业园区规划、业务运营分析、资源配送管理、智能选址评估等方面,涉及到政务、房产、零售、物流、金融等行业。
互动娱乐平台“快点”完成近亿美元C轮系列融资
36氪获悉,“快点”已完成由红杉资本中国基金领投,GGV纪源资本、晨兴资本等老股东集体超额跟投的近亿美金C轮系列融资。此前,快点已在2018年完成由DCM领投、DST跟投的数千万美金B轮系列融资。
数字身份、可信数据与服务提供商“融卡科技”完成数千万元A轮融资

36氪获悉,数字身份、可信数据与服务提供商“融卡科技”近日宣布完成数千万元人民币A轮融资,由达晨财智领投,正轩资本、中金石创投、拓华资本等跟投。该公司成立于2013年,提供底层硬件、上层系统、前端应用的安全解决方案。


微信小程序将支持分享到朋友圈,适用于内容型页面
一名小程序创业者证实,微信小程序将支持分享到朋友圈,这一操作陆续支持Android版微信,iOS将在后续的版本更新中陆续实现。目前,iOS版微信小程序仅支持“发送至对话”和“添加到我的小程序”这两项功能。该创业者称,自己是在6日的深夜得知这一功能更新,但截至目前,这项功能依然没有对小程序开发者完全开放,微信也没有给出具体的时间表。(新浪科技)
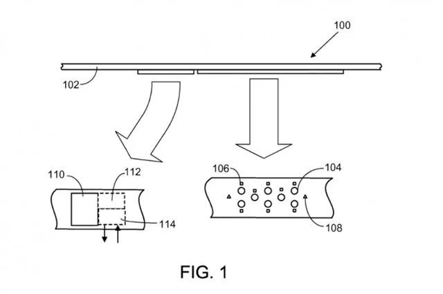
微软可穿戴新专利曝光:能更精准测量佩戴者血压
近日,微软有一项新专利被公示,解决了当前可穿戴设备血压测量的一个痛点。该专利名为《可穿戴式脉压波发送设备》,和Band所使用的解决方案有所不同,其更像是一个贴片,上面有一排压力传感器,横卧在特定区域(大概是动脉附近)。该专利的亮点在于,设备会寻找并提醒用户将其放置在哪里才是最准确的读数。理想情况下,微软的动脉监测系统将减少假阳性读数,并每天以最准确的读数告知用户。(cnBeta)

酷我畅听上线“沉浸式弹幕”功能
36氪获悉,酷我畅听昨日推出新的交互功能——“沉浸式弹幕”。酷我音乐副总裁肖轶曾在4月29日的发布会上透露,酷我畅听将探索音频可视化,为用户提供沉浸式弹幕。

AMD CEO苏姿丰:Zen 3年底如期发布
日前,AMD曾官方确认,Zen 3锐龙处理器仍将按计划在2020年内发布。AMD CEO苏姿丰通过一段视频,对锐龙3000XT系列的成功发布表示祝贺,同时亲口承诺,Zen 3将在今年底如期和大家见面。(腾讯科技)
马斯克:特斯拉牌龙舌兰Teslaquilla即将推出
据国外媒体报道,特斯拉CEO马斯克透露,特斯拉牌龙舌兰Teslaquilla即将推出。Teslaquilla由Tesla和tequilla(即龙舌兰酒)两个单词组合而成。有消息称马斯克已申请特斯拉牌龙舌兰商标Teslaquilla。(TechWeb)


点个“分享、点赞、在看”👇
多灾多难的一年快点顺利度过吧
登录查看更多
0

相关内容

综合性中文网上购物商城, 主营以图书、母婴、美妆、服装和家居家纺为代表的五大目标品类。
【经典书】Python金融大数据分析,566页pdf
专知会员服务
124+阅读 · 2020年8月1日
【ICMR2020】持续健康状态接口事件检索
专知会员服务
18+阅读 · 2020年4月18日
【资源】100+本免费数据科学书
专知会员服务
108+阅读 · 2020年3月17日
广东疾控中心《新型冠状病毒感染防护》,65页pdf
专知会员服务
19+阅读 · 2020年1月26日
报告 | 2020中国5G经济报告,100页pdf
专知会员服务
98+阅读 · 2019年12月29日
【德勤】中国人工智能产业白皮书,68页pdf
专知会员服务
310+阅读 · 2019年12月23日
华为和其“公关危机”下的5G发布会
1号机器人网
7+阅读 · 2019年1月27日
刘强东清明节回湖南湘潭认祖,带给乡亲100亿“小礼物”
中国企业家杂志
7+阅读 · 2018年4月7日
噩耗再次传来!华为,挺住!
FinTech前哨
4+阅读 · 2018年2月4日
嘿,这是本应属于你的“红包”!
腾讯
3+阅读 · 2017年7月13日
共享单车惨遭共享:一款App能骑9种车到底是啥神器?
黑客技术与网络安全
4+阅读 · 2017年7月6日
Arxiv
4+阅读 · 2018年12月20日
Arxiv
8+阅读 · 2018年5月15日
Arxiv
5+阅读 · 2018年4月13日
VIP会员
相关VIP内容
【经典书】Python金融大数据分析,566页pdf
专知会员服务
124+阅读 · 2020年8月1日
【ICMR2020】持续健康状态接口事件检索
专知会员服务
18+阅读 · 2020年4月18日
【资源】100+本免费数据科学书
专知会员服务
108+阅读 · 2020年3月17日
广东疾控中心《新型冠状病毒感染防护》,65页pdf
专知会员服务
19+阅读 · 2020年1月26日
报告 | 2020中国5G经济报告,100页pdf
专知会员服务
98+阅读 · 2019年12月29日
【德勤】中国人工智能产业白皮书,68页pdf
专知会员服务
310+阅读 · 2019年12月23日
Top
微信扫码咨询专知VIP会员