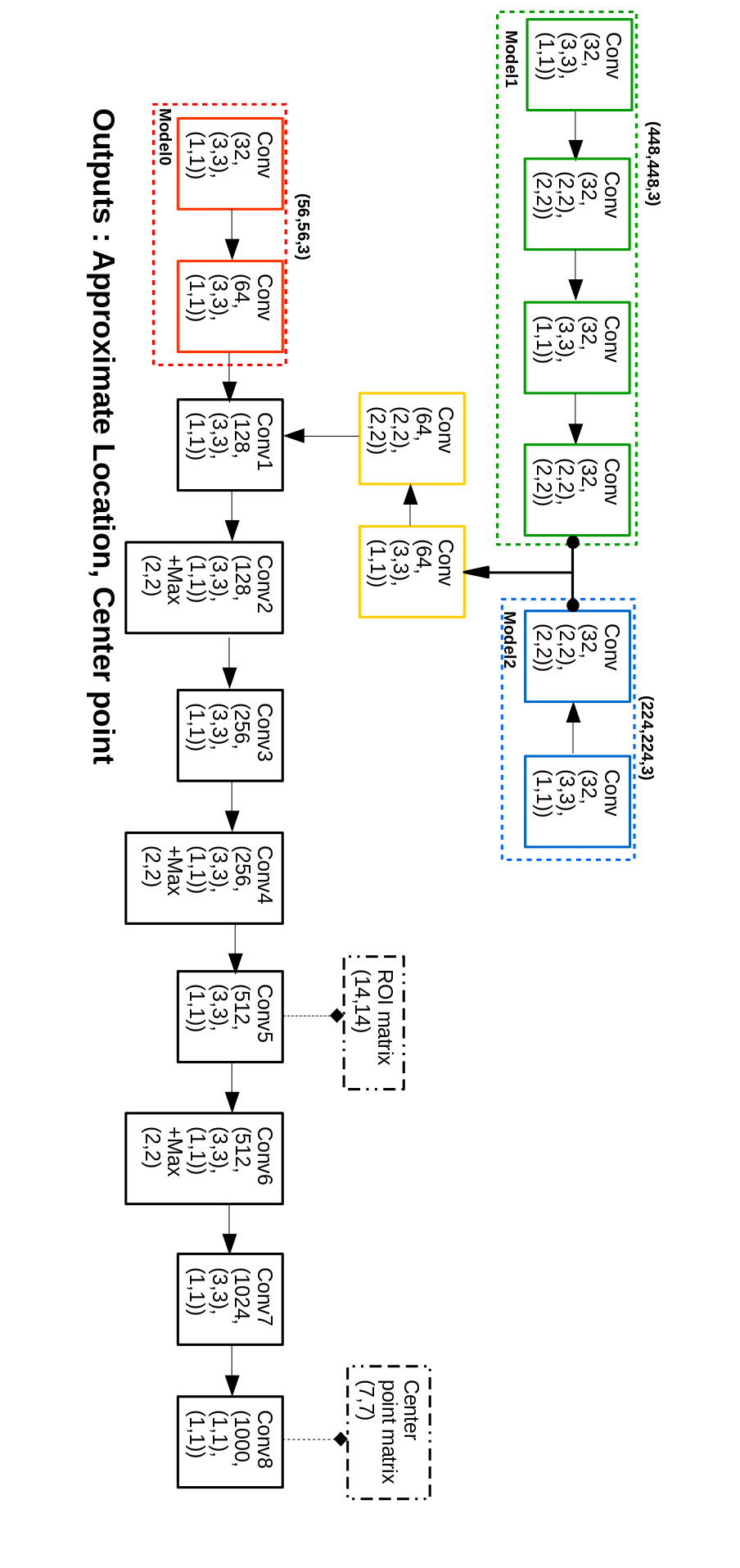
Object localization has a vital role in any object detector, and therefore, has been the focus of attention by many researchers. In this article, a special training approach is proposed for a light convolutional neural network (CNN) to determine the region of interest (ROI) in an image while effectively reducing the number of probable anchor boxes. Almost all CNN-based detectors utilize a fixed input size image, which may yield poor performance when dealing with various object sizes. In this paper, a different CNN structure is proposed taking three different input sizes, to enhance the performance. In order to demonstrate the effectiveness of the proposed method, two common data set are used for training while tracking by localization application is considered to demonstrate its final performance. The promising results indicate the applicability of the presented structure and the training method in practice.


翻译:物体定位在任何物体探测器中都具有关键作用,因此一直是许多研究人员关注的焦点。在本条中,提议对一个光相电动神经网络采取特别培训办法,以确定图像中感兴趣的区域,同时有效地减少可能的锚框数量。几乎所有有线电视新闻网的探测器都使用固定输入尺寸图像,在处理各种物体尺寸时,这种图像可能会造成不良性能。本文建议采用不同的有线电视新闻网结构,采用三种不同的输入尺寸来提高性能。为了证明拟议方法的有效性,在培训中使用了两个共同数据集,同时考虑通过定位应用程序跟踪跟踪,以显示其最终性能。有希望的结果表明,在实际操作中,所提出的结构和培训方法是可行的。

1
下载
关闭预览

相关内容

在深度学习中,卷积神经网络(CNN或ConvNet)是一类深度神经网络,最常用于分析视觉图像。基于它们的共享权重架构和平移不变性特征,它们也被称为位移不变或空间不变的人工神经网络(SIANN)。它们在图像和视频识别,推荐系统,图像分类,医学图像分析,自然语言处理,和财务时间序列中都有应用。

知识荟萃

精品入门和进阶教程、论文和代码整理等

更多

查看相关VIP内容、论文、资讯等
专知会员服务
59+阅读 · 2021年4月12日
专知会员服务
60+阅读 · 2021年4月11日
[综述]深度学习下的场景文本检测与识别
专知会员服务
78+阅读 · 2019年10月10日
知识图谱本体结构构建论文合集
专知会员服务
110+阅读 · 2019年10月9日
计算机视觉近一年进展综述
机器学习研究会
9+阅读 · 2017年11月25日
【推荐】YOLO实时目标检测(6fps)
机器学习研究会
20+阅读 · 2017年11月5日
可解释的CNN
CreateAMind
17+阅读 · 2017年10月5日
【推荐】视频目标分割基础
机器学习研究会
9+阅读 · 2017年9月19日
【推荐】深度学习目标检测全面综述
机器学习研究会
21+阅读 · 2017年9月13日
【推荐】深度学习目标检测概览
机器学习研究会
10+阅读 · 2017年9月1日
最佳实践:深度学习用于自然语言处理(三)
待字闺中
3+阅读 · 2017年8月20日
S4Net: Single Stage Salient-Instance Segmentation
Arxiv
10+阅读 · 2019年4月10日
Augmentation for small object detection
Arxiv
13+阅读 · 2019年2月19日
CoCoNet: A Collaborative Convolutional Network
Arxiv
6+阅读 · 2019年1月28日
Arxiv
3+阅读 · 2018年8月17日
Arxiv
5+阅读 · 2016年12月29日
VIP会员
相关资讯
计算机视觉近一年进展综述
机器学习研究会
9+阅读 · 2017年11月25日
【推荐】YOLO实时目标检测(6fps)
机器学习研究会
20+阅读 · 2017年11月5日
可解释的CNN
CreateAMind
17+阅读 · 2017年10月5日
【推荐】视频目标分割基础
机器学习研究会
9+阅读 · 2017年9月19日
【推荐】深度学习目标检测全面综述
机器学习研究会
21+阅读 · 2017年9月13日
【推荐】深度学习目标检测概览
机器学习研究会
10+阅读 · 2017年9月1日
最佳实践:深度学习用于自然语言处理(三)
待字闺中
3+阅读 · 2017年8月20日
相关论文
S4Net: Single Stage Salient-Instance Segmentation
Arxiv
10+阅读 · 2019年4月10日
Augmentation for small object detection
Arxiv
13+阅读 · 2019年2月19日
CoCoNet: A Collaborative Convolutional Network
Arxiv
6+阅读 · 2019年1月28日
Arxiv
3+阅读 · 2018年8月17日
Arxiv
5+阅读 · 2016年12月29日
Top
微信扫码咨询专知VIP会员