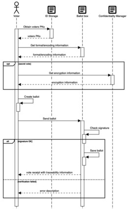
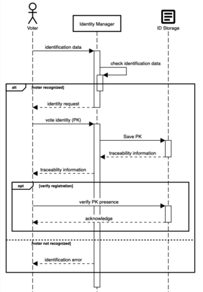
In this paper we propose a comprehensive and scalable framework to build secure-by-design e-voting systems. Decentralization, transparency, determinism, and untamperability of votes are granted by dedicated smart contracts on a blockchain, while voter authenticity and anonymity are achieved through (provable secure) linkable ring signatures. These, in combination with suitable smart contract constraints, also grant protection from double voting. Our design is presented in detail, focusing on its security guarantees and the design choices that allow it to scale to a large number of voters. Finally, we present a proof-of-concept implementation of the proposed framework, made available as open source.


翻译:在本文中,我们提出了一个全面、可扩展的框架,以建立按设计安全的电子投票制度;权力下放、透明度、确定性和投票不易当选,通过专门的智能合同在一块铁链上进行,而选民真实性和匿名性则通过(可证明的)可链接的环形签名实现,这些签名加上适当的智能合同限制,还保护人们不受双重投票的影响;我们的设计是详细介绍的,侧重于安全保障和设计选择,使其能够向大量选民推广;最后,我们证明拟议框架的概念执行情况,作为公开来源提供。

0
下载
关闭预览

相关内容

区块链(Blockchain)是由节点参与的分布式数据库系统,它的特点是不可更改,不可伪造,也可以将其理解为账簿系统(ledger)。它是比特币的一个重要概念,完整比特币区块链的副本,记录了其代币(token)的每一笔交易。通过这些信息,我们可以找到每一个地址,在历史上任何一点所拥有的价值。

知识荟萃

精品入门和进阶教程、论文和代码整理等

更多

查看相关VIP内容、论文、资讯等
专知会员服务
52+阅读 · 2021年8月8日
[综述]深度学习下的场景文本检测与识别
专知会员服务
78+阅读 · 2019年10月10日
Hierarchically Structured Meta-learning
CreateAMind
27+阅读 · 2019年5月22日
Transferring Knowledge across Learning Processes
CreateAMind
29+阅读 · 2019年5月18日
Call for Participation: Shared Tasks in NLPCC 2019
中国计算机学会
5+阅读 · 2019年3月22日
强化学习的Unsupervised Meta-Learning
CreateAMind
18+阅读 · 2019年1月7日
Unsupervised Learning via Meta-Learning
CreateAMind
43+阅读 · 2019年1月3日
RL 真经
CreateAMind
5+阅读 · 2018年12月28日
Ray RLlib: Scalable 降龙十八掌
CreateAMind
9+阅读 · 2018年12月28日
Hierarchical Imitation - Reinforcement Learning
CreateAMind
19+阅读 · 2018年5月25日
Hierarchical Disentangled Representations
CreateAMind
4+阅读 · 2018年4月15日
人工智能 | 国际会议截稿信息9条
Call4Papers
4+阅读 · 2018年3月13日
SIGN: Scalable Inception Graph Neural Networks
Arxiv
5+阅读 · 2020年7月15日
Arxiv
25+阅读 · 2020年3月11日
VIP会员
相关资讯
Hierarchically Structured Meta-learning
CreateAMind
27+阅读 · 2019年5月22日
Transferring Knowledge across Learning Processes
CreateAMind
29+阅读 · 2019年5月18日
Call for Participation: Shared Tasks in NLPCC 2019
中国计算机学会
5+阅读 · 2019年3月22日
强化学习的Unsupervised Meta-Learning
CreateAMind
18+阅读 · 2019年1月7日
Unsupervised Learning via Meta-Learning
CreateAMind
43+阅读 · 2019年1月3日
RL 真经
CreateAMind
5+阅读 · 2018年12月28日
Ray RLlib: Scalable 降龙十八掌
CreateAMind
9+阅读 · 2018年12月28日
Hierarchical Imitation - Reinforcement Learning
CreateAMind
19+阅读 · 2018年5月25日
Hierarchical Disentangled Representations
CreateAMind
4+阅读 · 2018年4月15日
人工智能 | 国际会议截稿信息9条
Call4Papers
4+阅读 · 2018年3月13日
Top
微信扫码咨询专知VIP会员